LEMON Manuals: Even more car manuals for everyone
Home >> Mini >> 2009 >> Cooper Base, 2D Convertible, Standard >> Repair and Diagnosis >> External Pages >> Different car >> Section 3473 (General Electrical System - Repair (ACTIVEHYBRID)) >> Plug Connection, Terminal, Fuse Box >> 61 13... Relay carrier

61 13... Relay carrier

WARNING: This page is about a different car, the 2011 BMW X6 and 2010 BMW X6. However, it is still accessible from the selected car via links, so may be relevant.

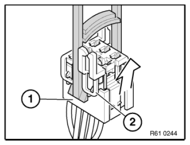
Place special tool 61 1 153 against relay carrier (1) and carefully pull in direction of arrow until the locking tabs (2) of the relay carrier are raised up.

Fig 1: Pulling Special Tool (61 1 153)
G08573820Courtesy of BMW OF NORTH AMERICA, INC.

Pull relay carrier (2) in direction of arrow into the first catch (3).

Fig 2: Pulling Relay Carrier
G08573821Courtesy of BMW OF NORTH AMERICA, INC.

Press down arrester hook (4) of corresponding contact and pull out the cable with contact.

With special tool 61 1 136 or 61 1 137 (press out) press out dual spring contacts.

Fig 3: Pressing Out Dual Spring Contacts Using Special Tool (61 1 136) Or (61 1 137)
G08573822Courtesy of BMW OF NORTH AMERICA, INC.