LEMON Manuals: Even more car manuals for everyone
Home >> Mini >> 2009 >> Cooper Base, 2D Convertible, Standard >> Repair and Diagnosis >> External Pages >> Different car >> Section 2995 (Steering And Wheel Alignment - Repair) >> Electronic Chassis Alignment >> 32 00... General information and definitions >> Toe angle difference

Toe angle difference

WARNING: This page is about a different car, the 2013 BMW 550i GT, 2012 BMW 550i GT, 2011 BMW 550i GT, and 2010 BMW 550i GT. However, it is still accessible from the selected car via links, so may be relevant.

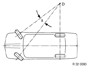
a Toe difference angle

D Centre point of operating circle

The toe angle difference is the angle adjustment of the inner cornering wheel relative to the outer cornering wheel when negotiating a curve. Steering is designed in such a way that angular position of wheels changes as steering lock progresses.

A correctly adjusted toe angle difference produces equal values for left and right lock with consideration of factory tolerances.

Fig 1: Identifying Toe Angle
G04724254Courtesy of BMW OF NORTH AMERICA, INC.

Toe angle difference provides information on corresponding operation of steering trapezoid for left or right steering lock from center position.