LEMON Manuals: Even more car manuals for everyone
Home >> Mini >> 2004 >> Cooper Base, Standard >> Repair and Diagnosis (Single Page) >> Accessories & Equipment >> Memory Modules >> General Electrical System - Repair - Cooper (R50), Cooper S (R53) & Convertible (R52) >> Plug Connections, Terminals, Power Distribution Box >> 61 13 ... Relay carrier

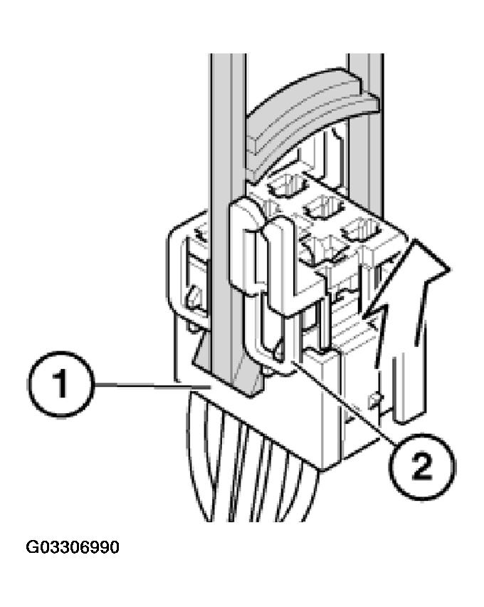
61 13 ... Relay carrier

Place special tool 61 1 153 on relay carrier (1) and carefully pull in direction of arrow until retaining lugs (2) on relay carrier are raised.

Fig 1: Removing Relay Carrier
G03306990Courtesy of BMW OF NORTH AMERICA, INC.

Pull relay carrier (2) in direction of arrow into first catch (3).

Fig 2: Locating First Catch
G03306991Courtesy of BMW OF NORTH AMERICA, INC.

Press down arrester hook (4) of appropriate contact and pull out cable with contact.

Press out double flat spring contact with special tool 61 1 136 or 61 1 137 (ejector).

Fig 3: Removing Double Flat Spring Contact
G03306992Courtesy of BMW OF NORTH AMERICA, INC.