LEMON Manuals: Even more car manuals for everyone
Home >> Mini >> 2004 >> Cooper Base, Standard >> Repair and Diagnosis (Single Page) >> Accessories & Equipment >> Communication Devices >> Body Control Module - Overview >> Body Control Module >> Wipers and Washers >> Wiper/Washer System IPO >> Wiper Motor

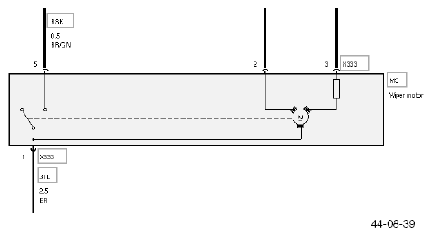
Wiper Motor

The Wiper Motor has two B+ connections, one for slow speed operation and one for fast speed. The ground side of the wiper motor includes a reset contact that sends a ground signal to the BC1 once per revolution of the motor. This reset contact is used for park positioning and stall protection.

When the wiper motor is in the park position, the reset contact is an open (High) circuit. The wiper on/off relay will be de-energized if the reset contact does not go High at least once every 18 seconds.

Fig 1: Wiper Motor Circuit Diagram
G04724491Courtesy of BMW OF NORTH AMERICA, INC.