LEMON Manuals: Even more car manuals for everyone
Home >> Mercury >> 2009 >> Sable Base, FWD >> Repair and Diagnosis >> External Pages >> Different car >> Section 547 (Module Communications Network System) >> Diagnosis And Testing >> Communications Network >> Pinpoint Tests >> Pinpoint Test E: The Instrument Cluster Does Not Respond To The Diagnostic Tool >> Pinpoint Test E: The Instrument Cluster Does Not Respond To The Diagnostic Tool

Pinpoint Test E: The Instrument Cluster Does Not Respond To The Diagnostic Tool

WARNING: This page is about a different car, the 2006 Mercury Montego, 2006 Ford Freestyle, and 2006 Ford Five Hundred. However, it is still accessible from the selected car via links, so may be relevant.
CAUTION: Use the correct probe adaptor(s) when making measurements. Failure to use the correct probe adaptor(s) may damage the connector.
  1. E1 CHECK THE INSTRUMENT CLUSTER C220 FOR DAMAGE 
    • Key in OFF position.
    • Depower the air bag system. Refer to DEPOWERING PROCEDURE .
    • Disconnect: Instrument Cluster C220.
    • Inspect the instrument cluster C220 for damage.
    • Is the instrument cluster C220 OK? 

    Yes:  GO to  E2.

    No:  REPAIR the instrument cluster C220 as necessary. CONNECT the instrument cluster C220. REPOWER the air bag system. REFER to REPOWERING PROCEDURE . CARRY OUT the data link diagnostics test.

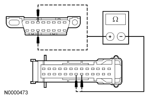
  1. E2 CHECK THE HIGH SPEED CAN CIRCUITS BETWEEN THE DLC AND THE INSTRUMENT CLUSTER FOR AN OPEN 
    • Measure the resistance between the instrument cluster C220-18, circuit 1908 (WH), harness side and the DLC C251-6, circuit 1908 (WH), harness side; and between the instrument cluster C220-19, circuit 1909 (BK), harness side and the DLC C251-14, circuit 1909 (BK), harness side.
      Fig 1: Checking High Speed CAN Circuits Between DLC & Instrument Cluster
      G04658390Courtesy of FORD MOTOR CO.
    • Are the resistances less than 5 ohms? 

    Yes:  GO to  E3.

    No  : REPAIR the circuit in question. CONNECT the instrument cluster C220. REPOWER the air bag system. REFER to REPOWERING PROCEDURE . CLEAR the DTCs. REPEAT the self-test. CARRY OUT the data link diagnostics test.

  1. E3 CHECK THE MEDIUM SPEED CAN CIRCUITS BETWEEN THE DLC AND THE INSTRUMENT CLUSTER FOR AN OPEN 
    • Measure the resistance between the instrument cluster C220-20, circuit 2180 (WH/BK), harness side and the DLC C251-3, circuit 2180 (WH/BK), harness side; and between the instrument cluster C220-21, circuit 2181 (BK/YE), harness side and the DLC C251-11, circuit 2181 (BK/YE), harness side.
      Fig 2: Checking Medium Speed CAN Circuits Between DLC & Instrument Cluster
      G04658391Courtesy of FORD MOTOR CO.
    • Are the resistances less than 5 ohms? 

    Yes:  GO to  E4.

    No:  REPAIR the circuit in question. CONNECT the instrument cluster C220. REPOWER the air bag system. REFER to REPOWERING PROCEDURE . CLEAR the DTCs. REPEAT the self-test. CARRY OUT the data link diagnostics test.

  1. E4 CHECK FOR CORRECT INSTRUMENT CLUSTER OPERATION 
    • Disconnect all the instrument cluster connectors.
    • Check for:
      • corrosion
      • pushed-out pins
    • Connect all the instrument cluster connectors and make sure they seat correctly.
    • Operate the system and verify the concern is still present.
    • Is the concern still present? 

    Yes:  INSTALL a new instrument cluster. REFER to REMOVAL AND INSTALLATION . REPOWER the air bag system. REFER to REPOWERING PROCEDURE . CLEAR the DTCs. REPEAT the self-test. CARRY OUT the data link diagnostics test.

    No:  The system is operating correctly at this time. The concern may have been caused by a loose or corroded connector. REPOWER the air bag system. REFER to REPOWERING PROCEDURE . CLEAR the DTCs. REPEAT the self-test. CARRY OUT the data link diagnostics test.