LEMON Manuals: Even more car manuals for everyone
Home >> Mercury >> 2009 >> Sable Base, AWD >> Repair and Diagnosis >> External Pages >> Different car >> Section 212 (Component Testing) >> Component testing >> Exterior rear view mirror switch (17B676) >> Schematic

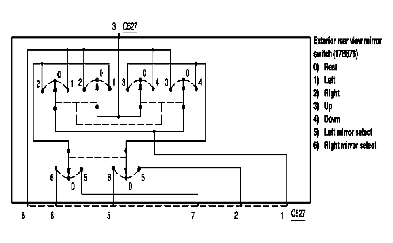
Exterior rear view mirror switch (17B676): Schematic

WARNING: This page is about a different car, the 2005 Mercury Montego, 2005 Ford Freestyle, and 2005 Ford Five Hundred. However, it is still accessible from the selected car via links, so may be relevant.
Fig 1: Exterior Rear View Mirror Switch (17B676) - Schematic
G03994291Courtesy of FORD MOTOR CO.