LEMON Manuals: Even more car manuals for everyone
Home >> Mercury >> 2009 >> Sable Base, AWD >> Repair and Diagnosis >> External Pages >> Different car >> Section 192 (Cruise Control System) >> Diagnosis And Testing >> Speed Control >> Connector Circuit Reference >> Pinpoint Test B: DTC P1703 or DTC P1572 -Brake On/Off Circuit Failure >> Testing

Pinpoint Test B: DTC P1703 or DTC P1572 -Brake On/Off Circuit Failure: Testing

WARNING: This page is about a different car, the 2005 Mercury Montego, 2005 Ford Freestyle, and 2005 Ford Five Hundred. However, it is still accessible from the selected car via links, so may be relevant.
  1. B1 CHECK THE STOPLAMPS 
    • Verify the stoplamps operate correctly.
    • Do the stop lamps operate correctly? 
    • Yes  : GO to B2.
    • No  : REFER to EXTERIOR LIGHTING to continue diagnosis of the stop lamps.
  2. B2 CHECK THE SPEED CONTROL DEACTIVATOR SWITCH FOR CORRECT OPERATION 
    • Key in OFF position.
    • Disconnect: PCM C175b.
    • Key in ON position.
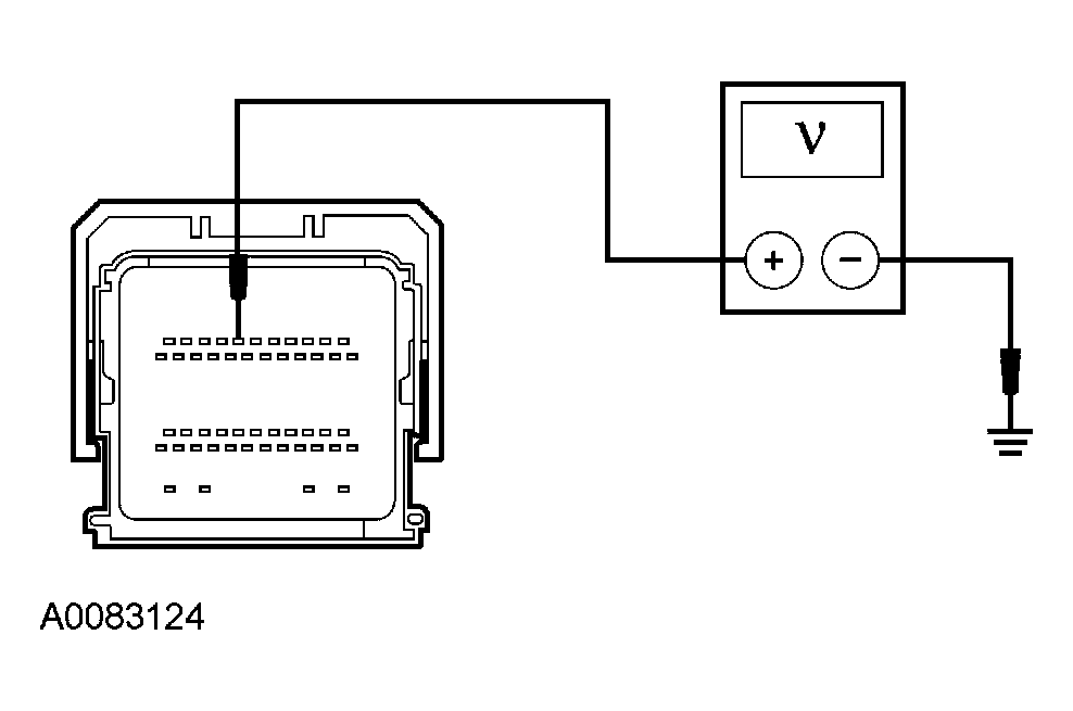
    • While firmly applying and releasing the brake pedal, measure the voltage between the PCM C175b-7, circuit 307 (BK/YE), harness side and ground.
      Fig 1: Checking Speed Control Deactivator Switch For Correct Operation
      G03883124Courtesy of FORD MOTOR CO.
    • Is the voltage greater than 10 volts with the brake pedal released and 0 volts with the brake pedal firmly applied? 
    • Yes  : GO to  B6.
    • No  : GO to B3.
  3. B3 CHECK CIRCUIT 1140 (VT) FOR AN OPEN 
    • Key in OFF position.
    • Disconnect: Speed Control Deactivator Switch C2227.
    • Key in ON position.
    • Measure the voltage between the speed control deactivator switch C2227-2, circuit 1140 (VT), harness side and ground.
      Fig 2: Checking Circuit 1140 (VT) For An Open
      G03930440Courtesy of FORD MOTOR CO.
    • Is the voltage greater than 10 volts? 
    • Yes  : GO to B4.
    • No  : REPAIR the circuit. CLEAR the DTCs. REPEAT the self-test.
  4. B4 CHECK CIRCUIT 307 (BK/YE) FOR A SHORT TO POWER 
    • Measure the voltage between the speed control deactivator switch C2227-1, circuit 307 (BK/YE), harness side and ground.
      Fig 3: Checking Circuit 307 (BK/YE) For Short To Power
      G03930441Courtesy of FORD MOTOR CO.
    • Is any voltage present? 
    • Yes  : REPAIR the circuit. CLEAR the DTCs. REPEAT the self-test.
    • No  : GO to B5.
  5. B5 CHECK CIRCUIT 307 (BK/YE) FOR AN OPEN 
    • Key in OFF position.
    • Measure the resistance between the speed control deactivator switch C2227-1, circuit 307 (BK/YE), harness side and the PCM C175b-7, circuit 307 (BK/YE), harness side.
      Fig 4: Checking Circuit 307 (BK/YE) For An Open
      G03992127Courtesy of FORD MOTOR CO.
    • Is the resistance less than 5 ohms? 
    • Yes  : INSTALL a new speed control deactivator switch. REFER to SPEED CONTROL DEACTIVATOR SWITCH . CLEAR the DTCs. REPEAT the self-test.
    • No  : REPAIR the circuit. CLEAR the DTCs. REPEAT the self-test.
  6. B6 CHECK FOR CORRECT PCM OPERATION 
    • Disconnect all the PCM connectors.
    • Check for:
      • corrosion
      • pushed-out pins
    • Connect all the PCM connectors and make sure they are seated correctly.
    • Operate the system and verify the concern is still present.
    • Is the concern still present? 
    • Yes  : INSTALL a new PCM. REFER to ELECTRONIC ENGINE CONTROLS .
    • No  : The system is operating correctly at this time. The concern may have been caused by a loose or corroded connector. CLEAR the DTCs. REPEAT the self-test.