LEMON Manuals: Even more car manuals for everyone
Home >> Mercury >> 2009 >> Sable Base, AWD >> Repair and Diagnosis >> External Pages >> Different car >> Section 1573 (Module Communications Network) >> Diagnosis And Testing >> Communications Network >> Pinpoint Tests >> Pinpoint Test H: The Transmission Control Module (TCM) Does Not Respond To The Scan Tool >> Pinpoint Test H: The TCM Does Not Respond To The Scan Tool

Pinpoint Test H: The TCM Does Not Respond To The Scan Tool

WARNING: This page is about a different car, the 2010 Mercury Mariner and 2010 Ford Escape. However, it is still accessible from the selected car via links, so may be relevant.
NOTE: Use the correct probe adapter(s) when making measurements. Failure to use the correct probe adapter(s) may damage the connector.
NOTE: Failure to disconnect the battery when instructed will result in false resistance readings. Refer to BATTERY, MOUNTING AND CABLES .
  1. H1 CHECK THE TCM VOLTAGE SUPPLY CIRCUITS FOR AN OPEN 
    • Ignition OFF.
    • Disconnect: TCM C1458a.
    • Ignition ON.
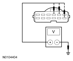
    • Measure the voltage between the TCM  , harness side and ground as follows:
      CONNECTOR-PIN REFERENCE CHART

      Connector-Pin Circuit
      C1458a-4 CBB24 (VT/GN)
      C1458a-5 CBB24 (VT/BN)
      C1458a-12 SBB05 (GY/RD)
      Fig 1: Measuring Voltage Between TCM, Harness Side And Ground
      G06390967Courtesy of FORD MOTOR CO.
    • Are the voltages greater than 10 volts? 
    • Yes:  GO to H2  .
    • No:  VERIFY the Battery Junction Box (BJB) fuse 5 (10A) or fuse 24 (10A) is OK. If OK, REPAIR the circuit in question. If not OK, REFER to the appropriate SYSTEM WIRING DIAGRAMS article to identify the possible causes of the circuit short. CLEAR the DTCs. REPEAT the network test with the scan tool.
  2. H2 CHECK THE TCM GROUND CIRCUITS FOR AN OPEN 
    • Ignition OFF.
    • Disconnect: Negative Battery Cable.
    • Measure the resistance between the TCM C1458a-2, circuit GD121 (BK/YE), harness side and ground; and between the TCM  C1458a-8, circuit GD121 (BK/YE), harness side and ground.
      Fig 2: Measuring Resistance Between TCM C1458A-2, Circuit GD121 (BK/YE) And Between C1458A-8, GD121 (BK/YE), Harness Side And Ground
      G06099328Courtesy of FORD MOTOR CO.
    • Are the resistances less than 5 ohms? 
    • Yes:  GO to H3  .
    • No:  REPAIR the circuit in question. CONNECT the negative battery cable. CLEAR the DTCs. REPEAT the network test with the scan tool.
  3. H3 CHECK THE HS-CAN CIRCUITS BETWEEN THE TCM AND THE DLC FOR AN OPEN 
    • Measure the resistance between the TCM C1458a-1, circuit VDB04 (WH/BU), harness side and the DLC  C251-6, circuit VDB04 (WH/BU), harness side.
      Fig 3: Measuring Resistance Between TCM C1458A-1, Circuit VDB04 (WH/BU) And DLC C251-6, Circuit VDB04 (WH/BU), Harness Side
      G06099329Courtesy of FORD MOTOR CO.
    • Measure the resistance between the TCM C1458a-7, circuit VDB05 (WH), harness side and the DLC  C251-14, circuit VDB05 (WH), harness side.
      Fig 4: Measuring Resistance Between TCM C1458A-7, Circuit VDB05 (WH) And DLC C251-14, Circuit VDB05 (WH), Harness Side
      G06099330Courtesy of FORD MOTOR CO.
    • Are the resistances less than 5 ohms? 
    • Yes:  CONNECT the negative battery cable. GO to H4  .
    • No:  REPAIR the circuit in question. CONNECT the negative battery cable. CLEAR the DTCs. REPEAT the network test with the scan tool.
  4. H4 CHECK FOR CORRECT TCM OPERATION 
    • Disconnect all the TCM connectors.
    • Check for:
      • corrosion
      • damaged pins
      • pushed-out pins
    • Connect all the TCM connectors and make sure they seat correctly.
    • Operate the system and verify the concern is still present.
    • Is the concern still present?