LEMON Manuals: Even more car manuals for everyone
Home >> Mercury >> 2009 >> Sable Base, AWD >> Repair and Diagnosis >> External Pages >> Different car >> Section 1244 (Component Testing) >> Component Testing >> Exterior rear view mirror switch >> Schematic

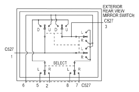
Exterior rear view mirror switch: Schematic

WARNING: This page is about a different car, the 2009 Ford Mustang. However, it is still accessible from the selected car via links, so may be relevant.
Fig 1: Exterior Rear View Mirror Switch Schematic
G05788079Courtesy of FORD MOTOR CO.