LEMON Manuals: Even more car manuals for everyone
Home >> Mercury >> 2009 >> Sable Base, AWD >> Repair and Diagnosis >> External Pages >> Different car >> Section 1202 (HVAC Control System) >> Removal And Installation >> Heating Ventilation Air Conditioning (HVAC) Module >> Notes

Heating Ventilation Air Conditioning (HVAC) Module: Notes

WARNING: This page is about a different car, the 2008 Mercury Sable, 2008 Ford Taurus X, and 2008 Ford Taurus. However, it is still accessible from the selected car via links, so may be relevant.
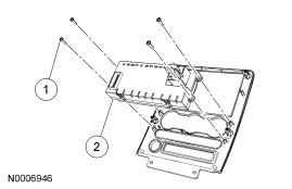
Fig 1: Heating Ventilation Air Conditioning (HVAC) Module
GF0018062Courtesy of FORD MOTOR CO.
Item Part Number Description
1 W505944 HVAC module screw (4 required)
2 19980 HVAC module