LEMON Manuals: Even more car manuals for everyone
Home >> Mercury >> 2008 >> Sable Base, AWD >> Repair and Diagnosis (Single Page) >> Transmission >> Automatic Trans >> Automatic Transmission - Theory & Operation, & Disassembly & Assembly >> Disassembly And Assembly Of Subassemblies >> Solenoid Body Assembly >> Notes

Solenoid Body Assembly: Notes

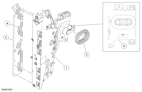
Fig 1: Exploded View Of Solenoid Body Assembly
GF0031593Courtesy of FORD MOTOR CO.
Item Part Number Description
1 7Z369 Solenoid body
2 7H200 Solenoid body filter
3 7J213 Seal - solenoid body electrical connector
4 - Solenoid body filter screen
5 - Leadframe area