LEMON Manuals: Even more car manuals for everyone
Home >> Mercury >> 2008 >> Sable Base, AWD >> Repair and Diagnosis (Single Page) >> Engine Performance >> System >> Engine Controls - Pinpoint Test Hg: Positive Crankcase Ventilation (PCV) System Through Pinpoint Test JD: Crankshaft Position (CKP) Sensor - (Except Diesel & Hybrid) >> PINPOINT TEST HH: Exhaust Gas Recirculation System Module (ESM) >> Introduction

PINPOINT TEST HH: Exhaust Gas Recirculation System Module (ESM): Introduction

This pinpoint test is intended to diagnose the following:

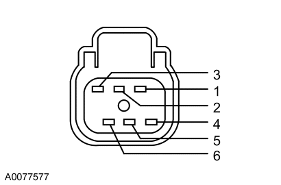
Fig 1: EGR System Module (ESM) Connector
GF0001484Courtesy of FORD MOTOR CO.
Pin Circuit
1 EVR (EGR Vacuum Regulator)
4 VPWR (Vehicle Power)
6 SIGRTN (Signal Return)
5 DPFE (Differential Pressure Feedback EGR)
2 VREF (Reference Voltage)

For PCM connector views or reference values, refer to the REFERENCE VALUES article.

Vehicle Connector Pin Circuit
E-Series,
F-Super Duty
170 Pin E63
E58
E57
E58
E21
EVR
SIGRTN
VREF
SIGRTN
DPFE
F-150 190 Pin E63
E58
B29, E57
B58, E58, T43
E21
EVR
SIGRTN
VREF
SIGRTN
DPFE
Mustang 170 Pin E63
E58
B40, E57
B41, E58, T41
E21
EVR
SIGRTN
VREF
SIGRTN
DPFE
All other vehicles 170 Pin E63
E58
E57
B41, E58, T41
E21
EVR
SIGRTN
VREF
SIGRTN
DPFE