LEMON Manuals: Even more car manuals for everyone
Home >> Mercury >> 2004 >> Marauder >> Repair and Diagnosis >> External Pages >> Different car >> Section 385 (Module Communications Network System) >> Diagnosis And Testing >> Communications Network >> Connector Circuit Reference >> Driver Seat Module (DSM) C341c

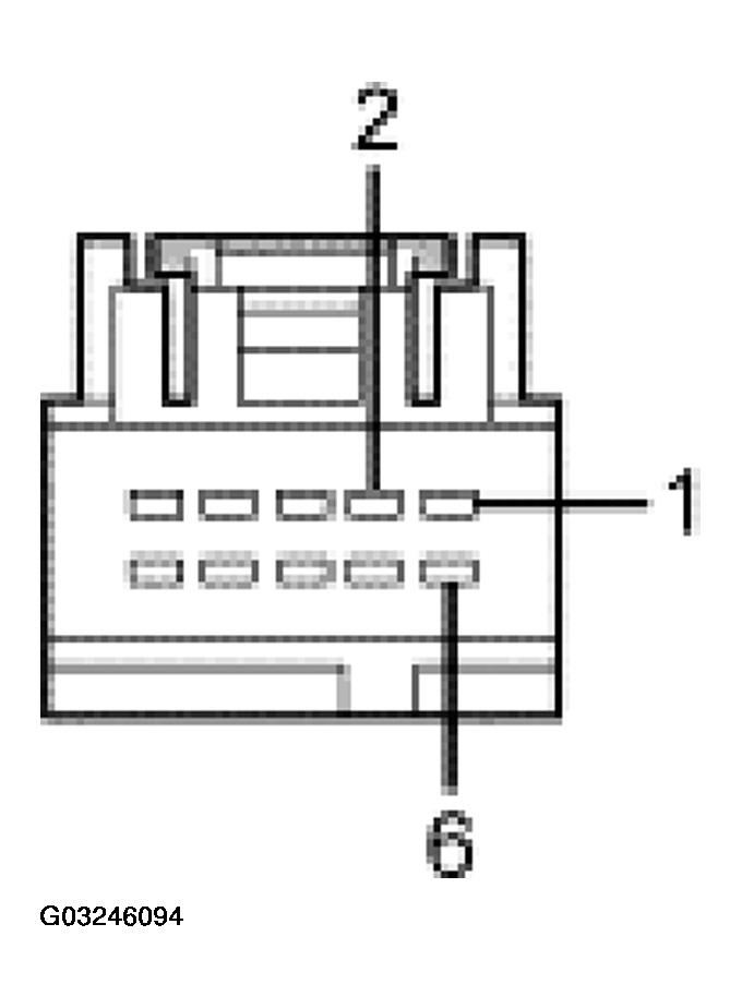
Driver Seat Module (DSM) C341c

WARNING: This page is about a different car, the 2004 Mercury Monterey and 2004 Ford Freestar. However, it is still accessible from the selected car via links, so may be relevant.
Fig 1: Identifying Driver Seat Module C341c Connector Terminal
G03246094Courtesy of FORD MOTOR CO.
DSM C341C CONNECTOR CIRCUIT REFERENCE

Pin Number (s) Circuit Designation/Description Normal Condition/Measurement
1 1567 (RD/LB) DSM power (overload protected) 10 volts or greater at the DSM connector.
2 2077 (PK/LB) UBP communication circuit Less than 5 ohms between the DLC and the DSM. Greater than 10,000 ohms to ground with all network modules disconnected.
6 1203 (BK/LB) DSM ground Less than 5 ohms between the DSM connector and ground.