LEMON Manuals: Even more car manuals for everyone
Home >> Mercury >> 2004 >> Marauder >> Repair and Diagnosis (Single Page) >> Engine Performance >> Testing & Diagnosis >> Engine Controls - Pinpoint Test DK: Accelerator Pedal Position Sensor Through Pinpoint Test DV: Throttle Body Assembly Etc - CNG, Flex-Fuel & Gasoline >> Pinpoint Test DR: Camshaft Position (CMP) Sensor >> Introduction >> Notes

Pinpoint Test DR: Camshaft Position (CMP) Sensor: Introduction: Notes

NOTE: This pinpoint test is intended to diagnose the following:
  • Camshaft Position (CMP) Sensor.
  • CMP and SIGRTN circuits.
  • Powertrain control module (PCM) (12A650).
Fig 1: Identifying Camshaft Position (CMP) Sensor Connector (1 Of 3)
G03626647Courtesy of FORD MOTOR CO.
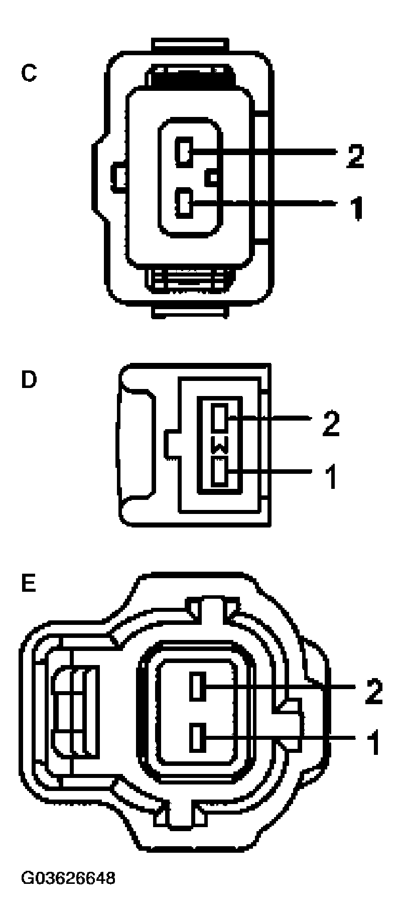
Fig 2: Identifying Camshaft Position (CMP) Sensor Connector (2 Of 3)
G03626648Courtesy of FORD MOTOR CO.
Fig 3: Identifying Camshaft Position (CMP) Sensor Connector (3 Of 3)
G03626649Courtesy of FORD MOTOR CO.
Fig 4: Camshaft Position 2 (CMP2) Sensor Connector
G03626650Courtesy of FORD MOTOR CO.