LEMON Manuals: Even more car manuals for everyone
Home >> Mercury >> 2002 >> Villager Base >> Repair and Diagnosis >> External Pages >> Different car >> Section 216 (Module Communications Network) >> Diagnosis And Testing >> Communications Network >> Pinpoint Tests >> Pinpoint Test F: No Controller Area Network (Can) Communication

Pinpoint Test F: No Controller Area Network (Can) Communication

WARNING: This page is about a different car, the 2005 Ford RV Cutaway, 2005 Ford Econoline, 2005 Ford E450 Super Duty, and 2005 Ford Cutaway. However, it is still accessible from the selected car via links, so may be relevant.
  1. F1 CHECK FOR AN OPEN BETWEEN THE INSTRUMENT CLUSTER C220A AND THE DATA LINK CONNECTOR (DLC) C251 
    • Key in OFF position.
    • Disconnect: Instrument Cluster C220a.
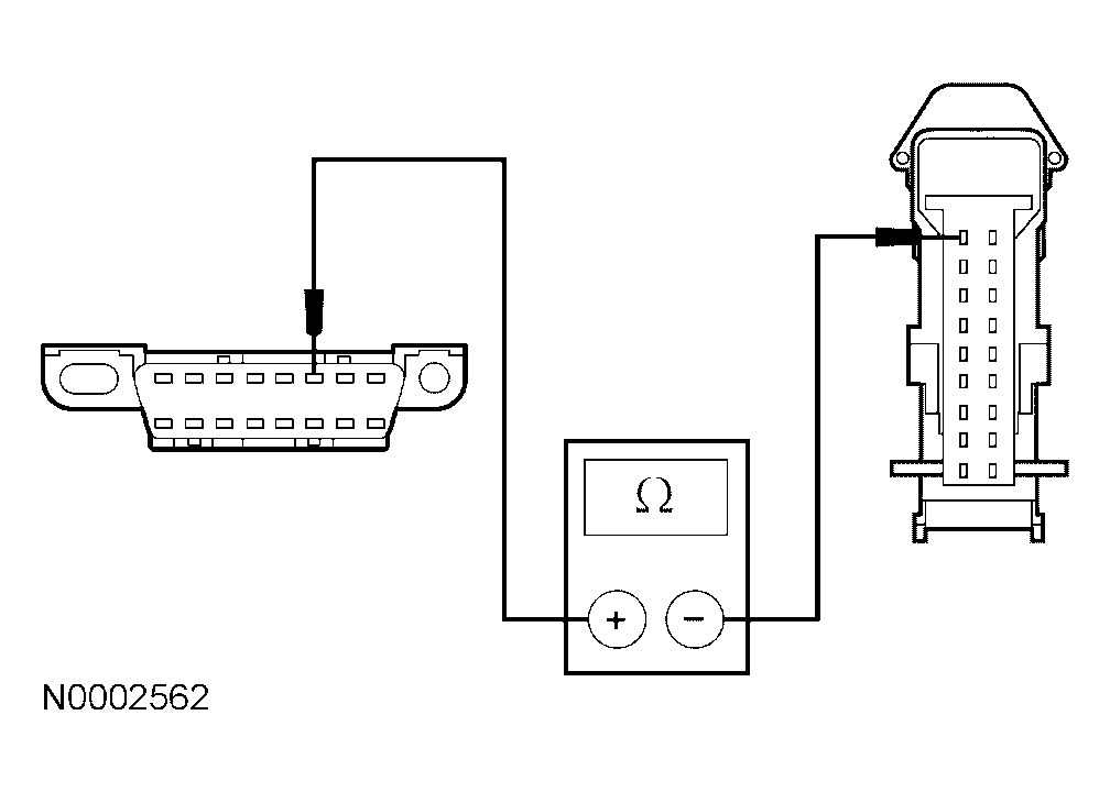
    • Measure the resistance between the instrument cluster C220a-9, circuit 1827 (WH/LG), harness side and DLC C251-6, circuit 1827 (WH/LG), harness side.
      Fig 1: Measuring Resistance Between Instrument Cluster Harness Sides
      G03890604Courtesy of FORD MOTOR CO.
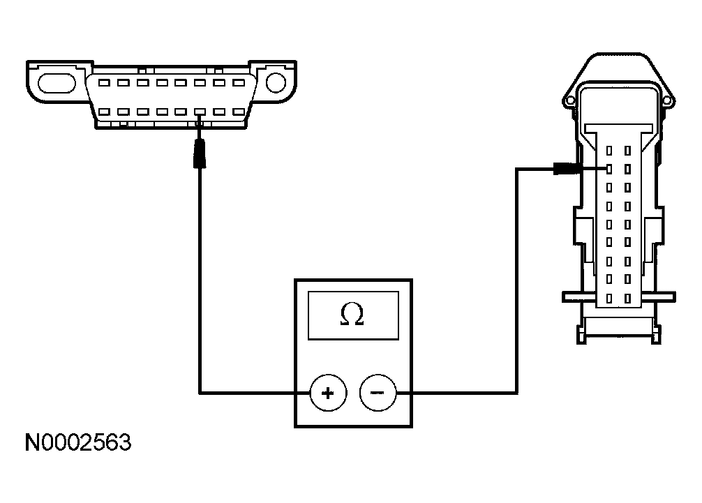
    • Measure the resistance between the instrument cluster C220a-8, circuit 1828 (PK/LG), harness side and DLC C251-14, circuit 1828 (PK/LG), harness side.
      Fig 2: Measuring Resistance Between Instrument Cluster Harness Sides
      G03890605Courtesy of FORD MOTOR CO.
    • Are the resistances less than 5 ohms? 
    • Yes  : GO to F2.
    • No  : REPAIR the circuit in question. CLEAR the diagnostic trouble codes (DTCs). REPEAT the self-test. CARRY OUT the diagnostic tool data link test.
  2. F2 CHECK THE CAN WITH THE INSTRUMENT CLUSTER C220A DISCONNECTED 
    • Key in ON position.
    • Enter the following diagnostic mode on the diagnostic tool: Data Link Diagnostics Test.
    • Does the diagnostic tool indicate system passed? 
    • Yes  : GO to  F6.
    • No  : GO to F3.
  3. F3 CHECK THE CAN CIRCUITS FOR A SHORT TO GROUND 
    • Key in OFF position.
    • Disconnect: PCM C175 (gasoline) or PCM C176a (diesel).
    • Disconnect: Instrument Cluster C220a.
    • Measure the resistance between the DLC C251-6, circuit 1827 (WH/LG), harness side and ground; and between the DLC C251-14, circuit 1828 (PK/LG), harness side and ground
      Fig 3: Measuring Resistance Between Circuits 1827 And 1828 And Ground
      G03890611Courtesy of FORD MOTOR CO.
    • Are the resistances greater than 10,000 ohms? 
    • Yes  : GO to F4.
    • No  : REPAIR the circuit in question. CLEAR the DTCs. REPEAT the self-test. CARRY OUT the diagnostic tool data link test.
  4. F4 CHECK THE CAN CIRCUITS FOR A SHORT TO VOLTAGE 
    • Key in ON position.
    • Measure the voltage between the DLC C251-6, circuit 1827 (WH/LG), harness side and ground; and between the DLC C251-14, circuit 1828 (PK/LG), harness side and ground.
      Fig 4: Measuring Voltage Between Circuits 1827, 1828 And Ground
      G03890612Courtesy of FORD MOTOR CO.
    • Is any voltage indicated? 
    • Yes  : REPAIR the circuit in question. CLEAR the DTCs. REPEAT the self-test. CARRY OUT the diagnostic tool data link test.
    • No  : GO to F5.
  5. F5 CHECK FOR CORRECT PCM OPERATION 
    • Disconnect all the PCM connectors.
    • Check for:
      • corrosion
      • pushed-out pins
    • Connect all the PCM connectors and make sure they seat correctly.
    • Operate the system and verify the concern is still present.
    • Is the concern still present? 
  6. F6 CHECK FOR CORRECT INSTRUMENT CLUSTER OPERATION 
    • Disconnect all the instrument cluster connectors.
    • Check for:
      • corrosion
      • push-out pins
    • Connect all the instrument cluster connectors and make sure they seat correctly.
    • Operate the system and verify the concern is still present.
    • Is the concern still present? 
    • Yes  : INSTALL a new instrument cluster. REFER to INSTRUMENT CLUSTER . CLEAR the DTCs. REPEAT the self-test. CARRY OUT the diagnostic tool data link test.
    • No  : The system is operating correctly at this time. The concern may have been caused by a loose or corroded connector. CLEAR the DTCs. REPEAT the self-test. CARRY OUT the diagnostic tool data link test.