LEMON Manuals: Even more car manuals for everyone
Home >> Mercury >> 2002 >> Villager Base >> Repair and Diagnosis >> Brakes >> Traction Control >> Anti-Lock Control >> Removal And Installation >> Sensor -Rear >> Removal

Sensor -Rear: Removal

  1. Disconnect the battery ground cable.
  2. Raise and support the vehicle. .
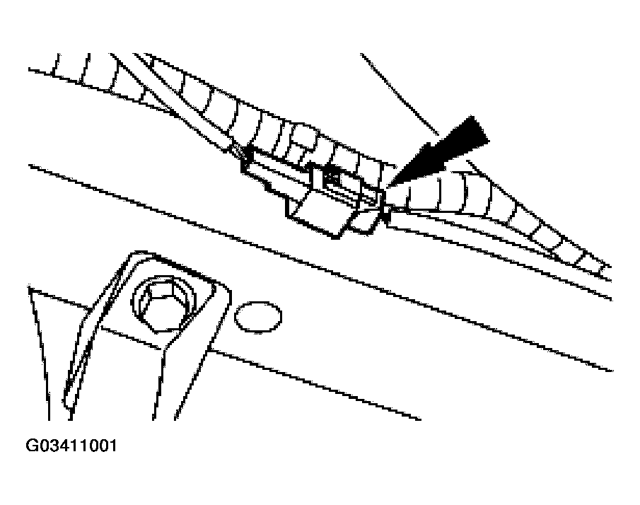
  3. Disconnect the anti-lock brake sensor electrical connector.
    Fig 1: Disconnecting Anti-Lock Brake Sensor Electrical Connector
    G03411001Courtesy of FORD MOTOR CO.
  4. Remove the anti-lock brake sensor cable upper bracket bolt.
    Fig 2: Removing Anti-Lock Brake Sensor Cable Upper Bracket Bolt
    G03411002Courtesy of FORD MOTOR CO.
  5. Remove the anti-lock brake sensor cable lower bracket bolt.
    Fig 3: Removing Anti-Lock Brake Sensor Cable Lower Bracket Bolt
    G03411003Courtesy of FORD MOTOR CO.
  6. Remove the anti-lock brake sensor cable bushing from the axle housing bracket.
    Fig 4: Removing Anti-Lock Brake Sensor Cable Bushing From Axle Housing Bracket
    G03411004Courtesy of FORD MOTOR CO.
  7. Remove the anti-lock brake sensor.
    1. Remove the bolt.
    2. Remove the anti-lock brake sensor.
      Fig 5: Removing Anti-Lock Brake Sensor
      G03411005Courtesy of FORD MOTOR CO.