LEMON Manuals: Even more car manuals for everyone
Home >> Mercury >> 2002 >> Villager Base >> Repair and Diagnosis (Single Page) >> Accessories & Equipment >> Ignition Switch/Steering Lock >> Component Testing >> Component Testing >> Ignition Switch

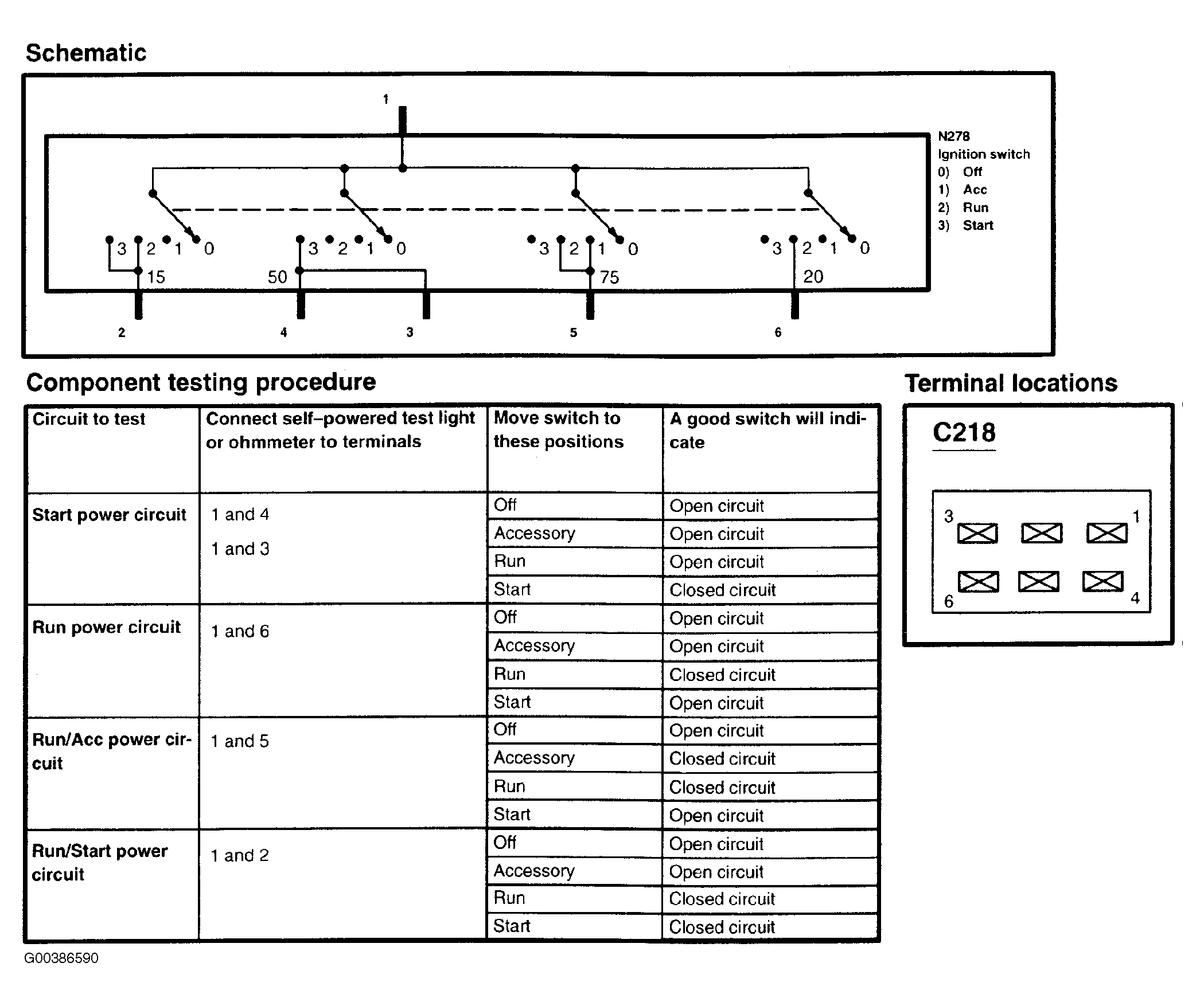
Ignition Switch

Fig 1: Testing Ignition Switch
G00386590Courtesy of FORD MOTOR CO.