LEMON Manuals: Even more car manuals for everyone
Home >> Mercury >> 1994 >> Capri Base, Standard >> Repair and Diagnosis >> Engine Performance >> System >> Engine Controls - Tests W/Codes >> Pinpoint Test Kc >> Knock Control

Knock Control

NOTE: Enter this test only when directed here from WIGGLE TEST under QUICK TESTS.
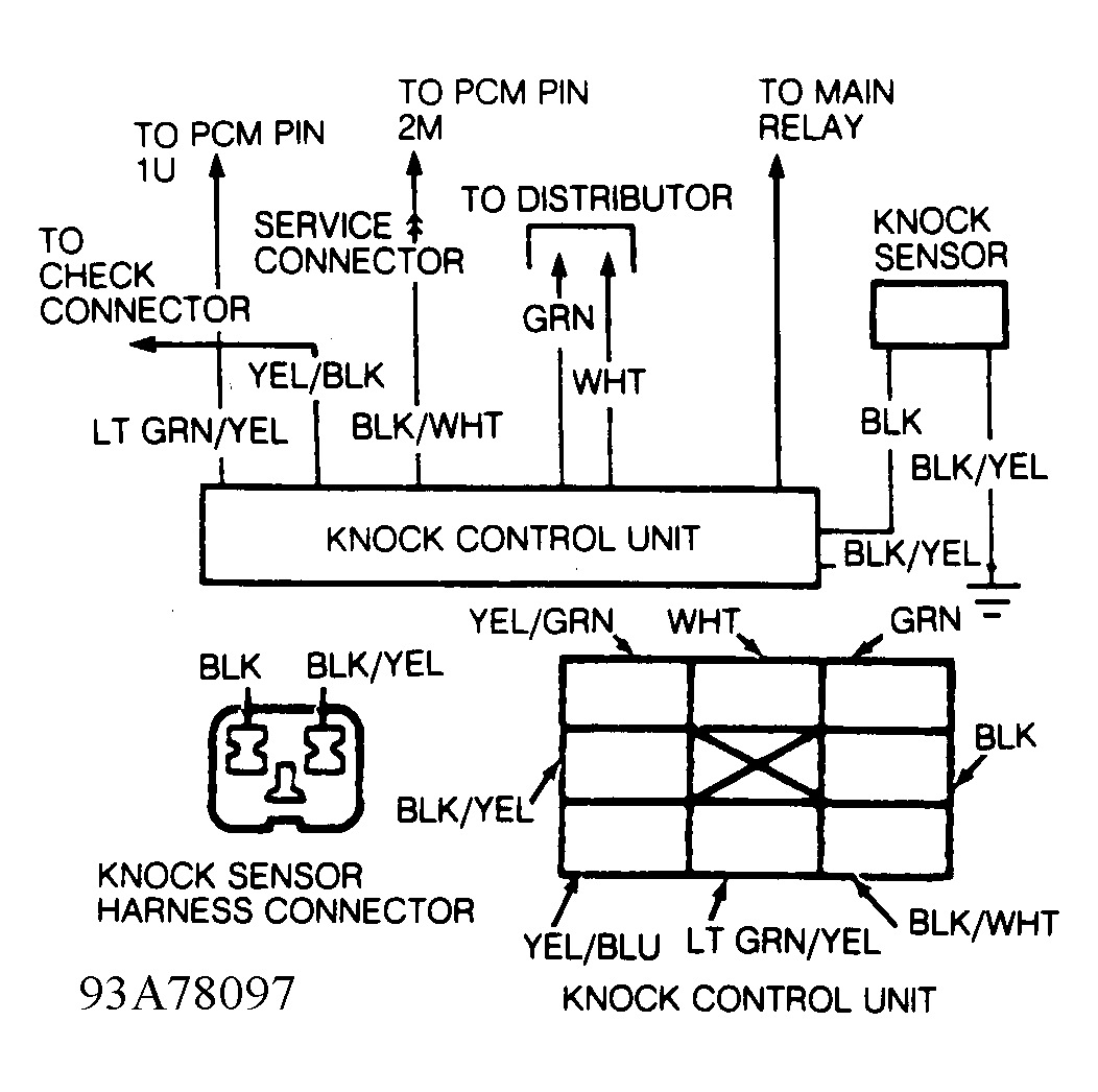
Fig 1: Identifying KC Circuit & Connectors (KC)
G93A78097

1)  Disconnect and plug vacuum hose at distributor. Connect timing light. Start engine. Unplug knock control service connector, located near PCM. If timing retards, service knock sensor and/or knock sensor wiring. If timing does not retard, go to next step.

2)  Determine and record ignition timing setting. Tap intake plenum with plastic mallet. If timing does not retard, go to step 4). If timing retards, go to next step.

3)  Plug in knock control service connector, located near PCM. Determine and record ignition timing setting. Tap intake plenum with plastic mallet. If timing does not retard, knock control unit is okay. Go to next step. If timing retards, replace knock control unit.

4)  Turn ignition off. Unplug knock control service connector, located near PCM. Install a known good knock sensor. Start engine. Tap intake plenum with plastic mallet. If timing retards, replace knock sensor. If timing does not retard, go to next step.

5)  Inspect VPWR and GND (Yellow/Green and Black/Yellow wires respectively) to knock control unit for shorts or open circuits. Service wires as necessary. If wires are okay, replace knock control unit.