LEMON Manuals: Even more car manuals for everyone
Home >> Mercedes Benz >> 2021 >> GLA250 Base >> Repair and Diagnosis >> Transmission >> Transmission Control Systems >> Automatic Transmission -- 247 Chassis >> Basic Knowledge >> Synchronization, Basic Function - GF27.10-P-1001A

Synchronization, Basic Function - GF27.10-P-1001A

Transmission 700.420/421/422/423, 724.033/044/045/103/114/115/120 

Overview 

This document contains information on:

General 

The task of the synchronization is to adjust the rpm between the output shaft and the associated idler gear. The rpm adjustment causes a positive connection to be set up between the output shaft and the associated idler gear.

Function requirements 

Function 

Synchronization 

The sliding sleeve, which is non-rotatably connected to the synchronizer body, is pushed axially along the output shaft by the shift fork. Locking splines on the synchronizer ring prevents the sliding sleeve from moving onto the interlock teeth of the idler gear if the synchronizer body (non-rotatably connected to the output shaft) and the idler gear have different rpms. The axial movement along the output shaft causes the sliding sleeve to exert force on the synchronizer ring; the sliding sleeve then pushes the synchronizer ring into the cone ring of the idler gear. The resulting friction equalizes the rotational speeds of the idler gear and output shaft. At the same time, the locking splines of the synchronizer ring turn radially to a parallel position relative to the interlock teeth of the idler gear, thereby allowing the sliding sleeve to overlap. The sliding sleeve can then by pushed by the shift fork onto the interlock teeth of the idler gear and generates a positive connection to the output shaft via the synchronizer body.

A distinction is made between the following types of synchronizer:

Sectional view of single-cone synchronization 

G16049577Courtesy of MERCEDES-BENZ USA

Single cone synchronization 

When the sliding sleeve (8) is moved, the idler gear (3) is braked or accelerated via the synchronizer ring (1).

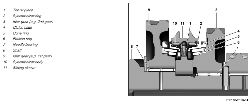
Sectional view of double-cone synchronization 

G16049578Courtesy of MERCEDES-BENZ USA

Double-cone synchronizer 

When the sliding sleeve (11) is moved on the synchronizer body (10) with the synchronizer ring (2), the respective idler gear is braked or accelerated quickly and with little force via the following components:

Use of the cone ring (4) and friction ring (5) means that two friction surfaces are in use. The friction surfaces of the nested cone ring (4), friction ring (5) and clutch plate (3) add up.

Sectional view of multi-cone synchronization 

G16049579Courtesy of MERCEDES-BENZ USA

Multiple cone synchronization 

When the sliding sleeve (11) is moved on the synchronizer body (10) with the synchronizer ring (2), the respective idler gear is braked or accelerated via the following components:

The multi-cone synchronization uses the following components:

The friction surfaces of the nested cone ring (5), synchronizer ring (2), friction ring (6) and clutch plate (4) add up.

  Further detailed information     
  Synchronization, detailed information Transmission 724.033/044/045 GF27.10-P-1104A
    Transmission 700.420/421/422/423 GF27.10-P-1104B
    Transmission 724.103/114/115/120 GF27.10-P-1104C