Navigation mode, function - GF82.85-P-2012GZU
MODEL 164 with CODE (494) USA version with CODE (530) COMAND APS USA (with navigation system)
The navigation system is intended to support the driver in finding the correct route and increase the driving safety in unfamiliar areas.
The primary navigation system functions include:
- Position determination
- Route planning
- Route calculation
- Destination-oriented navigation
- Visual driving instructions according to map illustrations
- Acoustic driving instructions
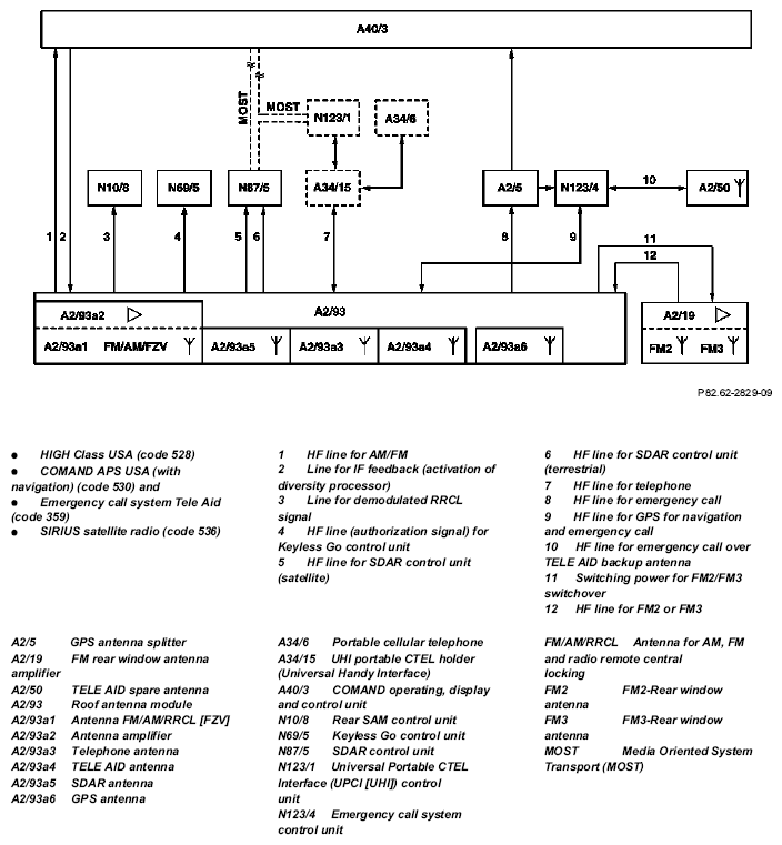
All systems required for navigation with the exception of the GPS antenna (A2/93a6) and GPS antenna splitter (A2/5) (only with TELE AID emergency call system (code 359)), are contained in the COMAND, operating, display and control unit (A40/3).
The GPS antenna integrated in the roof antenna module (A2/93) receives the GPS signals from the satellites and transfers them to the GPS antenna splitter. The GPS antenna splitter splits the GPS signal and transfers it to the COMAND, operating, display and control unit as well as to the emergency call system control unit (N123/4) (TELE AID emergency call system (code 359)).
Important data on the specific vehicle, such as
- the wheel pulse signal,
- the steering angle and
- the backup signal
are fed digitally to the COMAND, operating, display and control unit over the Control Area Network bus, class B (interior compartment) (CAN B) bus.
Function requirements
- Startup
The COMAND operating, display and control unit can be activated by circuit 15R. After placing the navigation DVD in the drive slot in the COMAND operating, display and control unit, the navigation compares the software version already installed with the software present in the DVD. If the DVD contains a newer version of the software, it is loaded by the navigation unit.
Simultaneously, the GPS receiver is initialized in the background. These procedures can require up to approx.
15 minutes.
After successful initialization of the GPS receiver, the navigation unit begins with automatic calibration while driving.
It is no longer necessary to enter the tire parameters or perform a calibration drive. After driving approx. one kilometer, with a number of turns, the navigation unit is automatically calibrated. After successful startup, the navigation system in the vehicle is activated over circuit 30. The navigation DVD can then be removed or remain in the drive. However, the navigation DVD is read in each time the system is started up.
- Switching off navigation
When the COMAND operating, display and control unit is switched off (ignition OFF), the navigation unit stores important data such as the last position, direction, etc. in its memory in order to eliminate a new initialization process. After starting the COMAND operating, display and control unit, it is only necessary for the navigation system to load the operating system, receive the missing GPS data and compare it with the current network of streets or roads. This procedure can require several minutes before the first driving instructions are given.
Basic navigation
- Position determination
Simultaneously with startup of the system, the navigation unit compares the GPS data supplied by the GPS antenna with the stored data for the vehicle position, direction as well as with the map data. The position of the vehicle is then determined with an accuracy of approx. 10 m by this procedure.
If the vehicle position is requested from the COMAND operating, display and control unit, the position is indicated on the map on the color display. Display in the form of longitude and latitude is also possible.
- Destination address entry for route calculation
The following information can be used for entering the address:
- Town name
- Street
- Intersection (including road number)
- Street number (depending on availability of data)
- City areas (depending on availability of data)
- "State" (federal state in USA or "Province" in Canada)
- Entry of destination in map (using cross-hairs, which can be moved using the joystick)
Entry with an intelligent speller (letter and number field) is supported by the system. Depending on the process of the entry, only those characters are made available that can be entered next. Unique names can be completed automatically, where possible. The limitation of the selection possibilities for characters also includes special symbols. Direct entry of a number is possible for the street number.
- Route calculation
After entering or calling a destination location, route calculation is started.
The route from the momentary vehicle position to the destination is then calculated by the navigation unit in the COMAND operating, display and control unit. In addition, "Avoid options" can also be selected by the user and taken into consideration in calculating the route. These options include avoiding items such as ferries, tunnels and toll roads.
Calculation of the route can also be influenced by entering an intermediate designation or stop.
After successful calculation, the route is indicated on the map.
- Journey on the calculated route
The actual position is compared cyclically in the navigation processor with the predicted position. The input parameters include the data from the yaw rate sensor (GYRO), integrated in the COMAND operating, display and control unit and the route data coming from the vehicle.
If the vehicle is moving on the precalculated route, all of the necessary information is communicated to the driver visually on the display and acoustically by the vehicle speakers.
This information includes:
- Destination/intermediate destination
- Calculated time of arrival and travel time
- Route list
This function terminates upon reaching the destination.
- Leaving the calculated route
If the vehicle is no longer moving on the precalculated route, the route is recalculated.
If the recalculated values are plausible, the modified route is shown:
- If the vehicle is on a road, which is present in digital form, however, for which no supplementary information is available such as one-way street, highway, etc., the display "OFF ROAD" appears.
- If the vehicle is located outside of the digitized map area the display "OFF MAP" appears.
Destination memory
Destination enters can be stored manually in a destination memory by the user. All destination stored by the user are displayed on the COMAND operating, display and control unit displayed in alphabetical order. If an entry is stored in the destination memory without a name, it is indicated to the user, in an additional list, with the designation "Other". A maximum of 200 entries can be stored.
All the methods for entering a destination are available for making entries into this memory. If all 200 entry possibilities have been used in the destination memory, the user is prompted to manually delete one of the entries by a pop-up message the next time a destination is stored.
Last destination memory
The user can call a list of the last destinations reached in the main navigation menu. When guidance is started, the route to the destination, including the daily schedule and all intermediate destination, is automatically stored in the "Last Destination Memory".
Up to 50 entries can be stored. Then, the entries are deleted automatically according to the "first in, first out" principle. This means that the oldest entry is deleted first.
The entries can also be deleted manually by the user.
OFF-road navigation
The navigation unit can also record routes not on conventional roads (OFF road feature). The routes can also be stored in such cases (maximum 60 miles). The recorded route is then illustrated on the map display.
Daily schedule feature
The daily schedule feature allows the user to enter a number of destinations which he wants to reach one after another.
The destinations are displayed to the user in the form of a list. The next designation is distinguished with black letters. If one of the destination addresses in the list is not reached, it is automatically deleted from the daily schedule.
A maximum of 18 destinations can be stored in the daily schedule. If all entries have been used, the user is requested to delete an entry by a pop-up message when an attempt is made to store another destination.
The destinations in the daily schedule can be shorted either according to the shortest distance or as a round trip.
Voice output
- The following languages are available:
- US English
- French
- Spanish
- Voice output is accomplished for:
- "Maintain direction"
- Turning recommendations
- Turns
- Numbered streets
- Further announcements:
- Start of route calculation
- Destination/intermediate destination reached
- A special instruction for areas is given with:
- Destination in area not accessible by car
- Destination in area with restricted traffic access
- Destination in an I n P rocess D ata (IPD) area
IPD (I
n P
rocess D
ata) are streets with partial attributes, which are available in digital form, however, for which no supplemental information is available, e.g. street class,
- one-way street or
- expressway.
Route calculation
- Route criteria and options
For route calculation, only criterion "fast route" is available.
This criterion can be limited with the following options:
- Avoid freeway
- Avoid toll road
- Avoid ferry/car loading
- Avoid tunnels
Route calculation is accomplished using the option set to the greatest possible extent. If observance of the options is not possible, the options set are ignored for the sections in question. The set criteria and options can be displayed and changed at any time. If an "Avoid option" cannot be satisfied by the system, this is indicated visually to the user in a pop-up message on the color display on the COMAND operating, display and control unit.
- Route planning
The primary destinations must be arrived at exactly in each case, before route planning can be accomplished to the next destination. If a primary destination is entered as an intermediate destination, the navigation unit divides the route up into two sections and first guides the user to the intermediate destination (or stop) and then automatically to the desired main destination.
- Remaining driving time and remaining driving distance
The following are indicated:
- Distance from vehicle position to next destination
- Estimated time of arrival
- Driving time
The driving time is the result of the speed associated with the sections still to be driven as well as a parameter calculated from the currently given speed.
- Manual block
Manual blocks can be specified by:
- Distance along the route starting from the current vehicle position, maximum 10 miles.
It is only possible to block out a portion of the route in the vicinity of the current location depending on the distance to the destination, not the entire route. A block can also be rescinded independently.
- Destination-oriented navigation
Output of driving recommendations is accomplished, as a matter of principle, in consideration of the current speeds, the current class of street and distance to the decisive point, e.g. freeway exit. Driving recommendations are accomplished in 3 stages depending on the situation:
- Preliminary announcement, depending on current class of road
- Approach
- Action
- Symbolic driving recommendations
It is possible to output a pictogram on the multifunction display (A1p13) in the instrument cluster (A1) corresponding to the turning situation. A symbolic driving recommendation is generated for each decisive point. A distinction is made between the following situations:
- Follow the road
- Preliminary announcement
- Turn at an intersection, all streets intersecting are indicated and illustrated with a direction resolution of 30°
- Exiting at an exit with a direction resolution of 90°
- Rotary, right and left-hand traffic: all roads intercepting at the rotary are indicated (only in fully digitized areas)
- Fork in road with direction resolution of 30°
- Turn around, left, right-hand traffic system
- Direction of destination for route calculation, Off-Road, Off-Map and No-Route
- Highway destination-oriented navigation
Special symbols are displayed for the user in the color display on COMAND, operating, display and control unit in order to provide special driving recommendations for highway exits.
- Distance information
The distance to the next turning point is indicated when the action is within the vicinity of the route search. In addition, a turning recommendation is indicated by a bargraph and voice output.
- Street names and signs
The following information is available:
- Name of street on which vehicle is currently driving and, when present in database, associated location name
- Name of the street to turn into
- On highways: Information on number of exit, number of highway, compass direction and location
- Map function
Navigation is accomplished in addition with a map display indicating the route. The map data is loaded from a special navigation DVD into the navigation unit and the map is displayed on the color display in the COMAND, operating, display and control unit.
The following display functions are supported:
- Destination-oriented navigation map
- Position map (without destination-oriented navigation)
During destination-oriented navigation, the driving recommendations can be displayed in the so-called split-screen mode with an intersection zoom.
- Intersection zoom
This feature allows the user to display the driving recommendations in an enlarged window and simultaneously display the map with reduced detail. The current vehicle position, route and turning points are displayed.
| Instrument cluster (IC), function | GF54.30-P-0002GZ |
| Antenna system (ATS), function | GF82.62-P-0001GZU |
| COMAND operating, display and control unit, component description | GF82.85-P-3134GZU |
| Multifunction steering wheel, function | GF82.90-P-0001GZ |