LEMON Manuals: Even more car manuals for everyone
Home >> Mercedes Benz >> 2007 >> ML320 >> Repair and Diagnosis (Single Page) >> Accessories & Equipment >> Wiper/Washer Systems >> Audio, Lighting, Navigation, Steering Wheel Controls, Tele Aid, Wipers/Washers -- Basic Knowledge - 164 Chassis >> Basic Knowledge (-2008) >> Cockpit management and data system (COMAND), function - GF82.85-P-0003GZU

Cockpit management and data system (COMAND), function - GF82.85-P-0003GZU

MODEL 164 with CODE (494) USA version with CODE (528) HIGH Class USA with CODE (530) COMAND APS USA (with navigation system) 

The COMAND operating, display and controller unit is a central operating and display unit for all the entertainment and communication systems integrated in the vehicle. It can also be controlled with the buttons on the multifunction steering wheel (MFL).

Fig 1: Identifying COMAND Operating, Display And Controller Unit
G05260292Courtesy of MERCEDES-BENZ OF NORTH AMERICA.
Fig 2: Identifying Navigation Module DVD Drive And CD Audio Drive
G05260293Courtesy of MERCEDES-BENZ OF NORTH AMERICA.

2 versions are available:

With code (530), a navigation module with DVD drive can be integrated as special equipment or a dealer option.

The COMAND, operating, display and controller unit controls the following systems:

Overview of full equipment for Cockpit Management and Data System (COMAND) shown on model designation 164.1 

Fig 3: Identifying Cockpit Management And Data System (COMAND) Components Location (Left View)
G05260294Courtesy of MERCEDES-BENZ OF NORTH AMERICA.

Overview of full equipment for COMAND shown on model designation 164.1 

Fig 4: Identifying Cockpit Management And Data System (COMAND) Components Location (Right View)
G05260295Courtesy of MERCEDES-BENZ OF NORTH AMERICA.

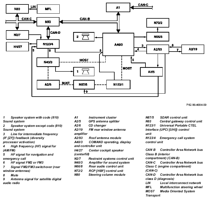
Block diagram, full equipment 

Fig 5: Identifying Cockpit Management And Data System (COMAND) Communication Diagram
G05260296Courtesy of MERCEDES-BENZ OF NORTH AMERICA.

Function requirements: 

When circuit 15R is active, the functions of the COMAND, operating, display and controller unit are available. If circuit 15R is not active, the MOST subscribers can be activated by switching on the COMAND, operating, display and controller unit. In this case, control using the multifunction steering wheel is not possible.

Radio function 

The radio tuner is integrated into the COMAND, operating, display and controller unit are available. FM and AM radio frequencies can be received. Moreover, the "weatherband" (WB) can be received.

IMPORTANT The weatherband channel is a free information channel which can be received nationwide (USA), offering auxiliary regional information. This includes weather predictions, weather warnings and warnings of other hazards.

Satellite radio reception (Code (536) SIRIUS satellite radio) 

The satellite radio system enables digital satellite stations to be received. The system consists of the SDAR control unit and the associated SDAR antenna (A2/93a5), which is integrated into the roof antenna module. The SDAR control unit is connected to the COMAND operating, display and controller unit via MOST.

IMPORTANT The SDAR control unit (3rd generation) has been used since modification year 07/1, and now it is also available for vehicles with code (460) Additional parts, Canadian vehicles.

The SDAR control unit (3rd generation) differs from the previous generation on account of the following properties:

Playing audio CDs 

Audio CDs can be played using the single-slot CD drive, located behind the moving color display of the COMAND operating, display and controller unit and using a CD changer (Code (819) 6-disk CD changer). The CD changer (Code (819) 6-disk CD changer) is connected via MOST to the COMAND operating, display and controller unit.

Audio signal control 

The COMAND operating, display and controller unit manages the audio sources, such as CD changer (Code (819) 6-disk CD changer). The audio sources can be controlled via MOST. An external analog audio source can be connected to the COMAND operating, display and controller unit via the AUX jack in the glove box. Data exchange via a discrete line.

Audio output in rear with code (519) Rear audio system 

It is possible to output audio signals in the rear using headphone connections on the HBF control unit. For this purpose, the audio signals are transferred by the COMAND, operating, display and controller unit to the rear audio control unit over direct wiring.

There, the signals are amplified and output directly to the HBF control unit for output to the headphones.

Making phone calls 

The cell phone (A34/6) is inserted into the UPCI [UHI] (Universal Portable CTEL Interface) cell phone holder (A34/15) and is thereby connected to the Universal Portable CTEL Interface (UPCI [UHI]) control unit. The telephone feature is included in the UPCI (Universal portable CTEL Interface) control unit. The user can operate the system with the COMAND, operating, display and controller unit. The Universal Portable CTEL Interface (UPCI [UHI]) control unit is connected to the COMAND operating, display and controller unit via MOST.

Use of DVD drive 

The DVD drive of the navigation module on vehicles with code (530) COMAND APS USA (with navigation system) is not suitable for playing video media (DVD Video, CD video or the like). The drive is only used for reading in the navigation DVD.

Navigation 

All MOST components (navigation processor and audio gateway) known from other versions and required for navigation are present in the COMAND, operating, display and controller unit.

Emergency call 

Emergencies call are accomplished using the emergency call system control unit. In the event of an emergency call, the audio outputs and UPCI (Universal portable CTEL Interface) control unit, are muted.

Audio functions   GF82.60-P-2000GZU 
Volume/tone adjustments, function   GF82.60-P-2003GZU 
Antenna system (ATS), function   GF82.62-P-0001GZU 
Telephone mode, function   GF82.85-P-2007GZU 
Navigation mode, function with code (530) COMAND APS USA (with navigation) GF82.85-P-2012GZU