LEMON Manuals: Even more car manuals for everyone
Home >> Mercedes Benz >> 2003 >> CLK430 >> Repair and Diagnosis (Single Page) >> Restraints >> Restraints Control Systems >> Seats, Restraint Systems -- 208 Chassis >> Basic Knowledge >> Locking of roll bar control element, function - GF91.50-P-3000KA

Locking of roll bar control element, function - GF91.50-P-3000KA

Models 208.435 /444 /445 /447 /448 /465 /470 

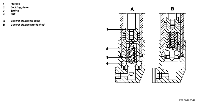
Fig 1: Function Of Roll Bar Control Element Components
G04729728

Mechanical locking mechanism of controls, function 

As the hydraulic circuit, insofar as no manual actuation ensues, is unpressurized, the control element piston has to be mechanically locked in its lower position (A)  . Locking is done by spring load (3)  over the balls (4).  For manual actuation the locking piston (2)  and piston have (1)pressure applied to them. Thus the locking mechanism is overridden (B)  .

REFER TO BASIC KNOWLEDGE Roll bar manual actuation, function   GF91.59-P-2000KA 
REFER TO BASIC KNOWLEDGE Hydraulic cylinder roll bar, location/task/design/function   GF91.53-P-2100KA