LEMON Manuals: Even more car manuals for everyone
Home >> Mercedes Benz >> 2003 >> CLK430 >> Repair and Diagnosis (Single Page) >> Quick Lookups >> Wiring Diagrams >> OEM Connector End Views -- 208 Chassis >> Connector End Views >> Driver-Side Fuse And Relay Module Connector End View (K40/2)

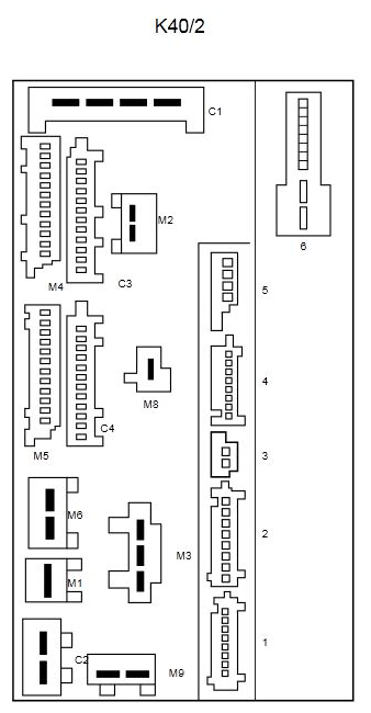
Driver-Side Fuse And Relay Module Connector End View (K40/2)

Fig 1: Driver-Side Fuse And Relay Module Connector End View (K40/2)
G11070657Courtesy of MERCEDES-BENZ USA