LEMON Manuals: Even more car manuals for everyone
Home >> Mercedes Benz >> 2000 >> S430 >> Repair and Diagnosis >> Accessories & Equipment >> Wiper/Washer Systems >> Electrical System -- Basic Knowledge -- 215 & 220 Chassis - 2 Of 2 >> Basic Knowledge >> Voice control system (VCS [SBS]), function - GF82.70-P-0002 >> Voice control system (VCS [SBS]), function - GF82.70-P-0002M >> Voice control system (VCS) function diagram - GF82.70-P-0002-02M

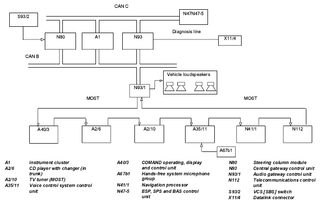
Voice control system (VCS) function diagram - GF82.70-P-0002-02M

Fig 1: Voice Control System Function Diagram
G04841023