LEMON Manuals: Even more car manuals for everyone
Home >> Mercedes Benz >> 2000 >> S430 >> Repair and Diagnosis >> Accessories & Equipment >> Wiper/Washer Systems >> Electrical System -- Basic Knowledge -- 215 & 220 Chassis - 2 Of 2 >> Basic Knowledge >> Cockpit management and data system (COMAND), function - GF82.85-P-0003 >> Cockpit management and data system (COMAND), function - GF82.85-P-0003B

Cockpit management and data system (COMAND), function - GF82.85-P-0003B

MODEL 215, 220 up to 31.8.03 with CODE (352a) COMAND operating and display system with CODE (494a) USA version 

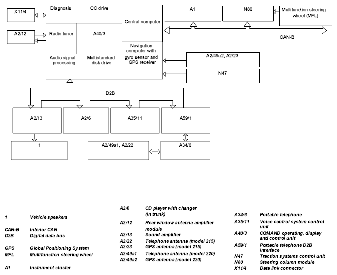
Fig 1: Cockpit Management And Data System Function Diagram
G04841086

Block diagram of overall COMAND system, illustrated with following equipment: CD changer (code 819), sound system (code 810), voice control system (SBS) (code 813) 

The COMAND operating, display and control unit (A40/3) is the central component in the COMAND system. It contains a video-capable LCD color display for showing information such as operating menus and map data for the navigation system. The following systems are operated centrally and operation is menu-guided on the display:

Several functions can also be activated with the aid of the multifunction steering wheel switches. It should be noted here that all button actuations on the multifunction steering wheel, which affect the COMAND operating, display and control unit (A40/3), are sent first of all from the steering column module (N80) as a CAN message to the instrument cluster(A1).

A point to note in this connection is that the instrument cluster (A1) links the incoming button operations with the current menu setting in the multifunction display (A1p13) and then transmits a corresponding CAN message to the COMAND operating, display and control unit (A40/3).

The vehicle can be equipped as an optional extra with an infrared remote control for issuing commands from the passenger compartment as well as a voice control system (SBS) (code 813). These two features increase level the operating convenience even further.

COMAND bus system 

The digital components in the COMAND operating, display and control unit (A40/3) are interlinked by a bus system.

The bus system is used to transmit data (control commands and useful information) between the various system components.

Various bus systems have been installed (refer to block diagram) because the individual components sometimes operate with different data formats or different transmission speeds and levels of reliability are required:

The digital data bus (D2B) is used to transmit data between the external audio components, the telephone system and if present the voice control system. Control data as well as the actual audio signals (e.g. music from CD changer) can be transferred.

The interior CAN (CAN-B) is used to make the link up to further control units in the vehicle (e.g.instrument cluster (A1), steering column module (N80) etc.).

In this way, e.g. the instrument cluster (A1) receives via the COMAND operating, display and control unit (A40/3), the audio, telephone and navigation data as well as the time over the bus.

  Radio mode, function   GF82.60-P-2001D
  CD-player mode, function with code 819, 819a GF82.60-P-2002AB
  Volume and tone settings, function   GF82.60-P-2003AB
  Switch on/off behavior, function   GF82.85-P-2006AB 
  Telephone mode, function   GF82.85-P-2007C 
  Cassette mode, function   GF82.85-P-2010AB 
  Navigation mode, function Except code 498 GF82.85-P-2012A 
  Starguide, function as of 1.9.00 GF82.85-P-2014A 
  Information service, function as of 1.9.00 GF82.85-P-3016A 
  Data transmission for Starguide, function as of 1.9.00 GF82.85-P-3017A 
  Data transfer between COMAND and instrument cluster, function   GF82.85-P-3008AB