LEMON Manuals: Even more car manuals for everyone
Home >> Mercedes Benz >> 2000 >> S430 >> Repair and Diagnosis (Single Page) >> Restraints >> Restraints Control Systems >> Seats, Restraint Systems -- Basic Knowledge -- 215 & 220 Chassis >> Basic Knowledge >> Adjusting rear seats, function - GF91.29-P-2009S

Adjusting rear seats, function - GF91.29-P-2009S

MODEL 220 with CODE (223b) Electrically adjustable rear bench seat 

MODEL 220 with CODE (224c) Electrically adjustable rear single seats, with seat ventilation, seat heater and memory package 

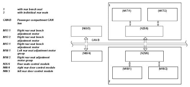
Block diagram 

Seat adjustment of rear bench seat/ individual rear seats 

Fig 1: Rear Seat Adjustment - Block Diagram
G04851628

Function requirements:

Rear bench seat adjustment without memory 

With the electrically adjustable rear bench seat without memory a manual longitudinal adjustment can be performed using one motor each on the left and right half of the rear bench seat. The adjustments are made via the adjustment switches in the left rear door control module (N69/3)/right rear door control module (N69/4).

Individual rear seats seat adjustment with memory 

The following can be adjusted separately in each case with the electrically adjustable individual rear seats with memory

The adjustments are performed manually using the adjustment switches in the left rear door control module (N69/3)/right rear door control module (N69/4) or automatically using the memory feature. In this connection three complete seat adjustments can be stored and called up again for each rear seat (left and right).

  Front seat adjustment switch group, location/ task/function   GF91.29-P-2100S 
  Front seat adjustment motor group, location/ function   GF91.29-P-2103S 
  Left front seat adjustment control module with memory, location/task   GF91.29-P-2106S 
  Right front seat adjustment control module with memory location/task   GF91.29-P-2107S 
  Rear compartment control module, location/ task/design Model 215 GF91.29-P-2111A 
  Rear seat control module, location/task/ design/function Model 220 GF91.29-P-2108S 
  Front driver door control module position / task / design / function   GF72.29-P-4105S
  Front passenger side door control module, location/task/design/function   GF72.29-P-4106S
  Rear door control module, location/task/ design/function Model 220 GF72.29-P-4102S