LEMON Manuals: Even more car manuals for everyone
Home >> Mercedes Benz >> 2000 >> S430 >> Repair and Diagnosis (Single Page) >> Accessories & Equipment >> Wiper/Washer Systems >> Electrical System -- Basic Knowledge -- 215 & 220 Chassis - 2 Of 2 >> Basic Knowledge >> Cockpit management and data system (COMAND), function - GF82.85-P-0003 >> Cockpit management and data system (COMAND), function - GF82.85-P-0003BA

Cockpit management and data system (COMAND), function - GF82.85-P-0003BA

MODEL 215, 220 as of 1.9.03 with CODE (352) COMAND operating and display system with CODE (494) USA version 

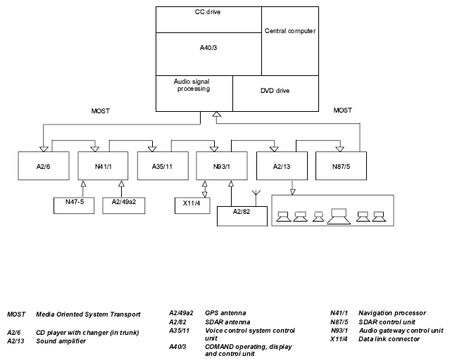
Fig 1: Cockpit Management And Data System Function Diagram - Shown On Model 220
G04841087

Block diagram of overall COMAND system, shown on model 220 with the following equipment: 

The COMAND operating, display and control unit (A40/3) is the central component in the system. It has a color Liquid Crystal Display (LCD) with video capability for displaying information such as operating menus and map data for navigation. The following systems are operated centrally and menu-assisted on the display:

Several functions can also be activated with the aid of the multifunction steering wheel switches. It should be noted here that all button actuations on the multifunction steering wheel, which affect the COMAND operating, display and control unit (A40/3n1), are sent first of all from the steering column module (N80) as a Controller Area Network (data bus /CAN bus) (CAN) message to the instrument cluster (A1).

The instrument cluster (A1) links the incoming button actuations with the current menu setting in the multifunction display (A1p13) and then transmits a corresponding CAN message to the COMAND operating, display and control unit (A40/3n1).

The vehicle can be equipped optionally with an infrared remote control for issuing commands from the passenger compartment and with a code (813) Voice control system (VCS), whereby the operator convenience level can be yet again improved.

COMAND operating, display and control unit (A40/3) bus system 

The digital components in the COMAND operating, display and control unit (A40/3n1) are networked through a bus system.

The bus system is used to transmit data (control commands and useful information) between the various system components.

As to some extent the individual components operate with various data formats, or different requirements on bit rate and safety are made, various bus systems are installed:

Data are exchanged between the external audio components, the telephone system and the voice control system with code (813) Voice control system (VCS) via the MOST. Control data as well as the actual audio signals (e.g. music from CD changer) can be transferred.

The CAN-B is used to connect to further control units in the vehicle (e.g. instrument cluster (A1), steering column module (N80)).

E.g., the instrument cluster (A1) receives via the COMAND operating, display and control unit (A40/3) the audio, telephone and navigation data as well as the time over this bus.

The CAN-C is also networked with the control units that are connected to the CAN-B at the same time. This helps to exchange data that have a direct influence on engine management.

  Radio mode, function   GF82.60-P-2001D
  CD-player mode, function   GF82.60-P-2002AB
  Volume/tone adjustments, function   GF82.60-P-2003AB
  Switch on/off behavior, function   GF82.85-P-2006AB 
  Telephone mode, function   GF82.85-P-2007C 
  Cassette mode, function up to 31.8.02 GF82.85-P-2010AB 
  Navigation mode, function   GF82.85-P-2012A 
  Starguide, function   GF82.85-P-2014A 
  Information service, function   GF82.85-P-3016A 
  Data transmission for Starguide, function   GF82.85-P-3017A 
  Data transfer between COMAND and instrument cluster function   GF82.85-P-3008AB