LEMON Manuals: Even more car manuals for everyone
Home >> Mercedes Benz >> 1994 >> SL320 >> Repair and Diagnosis >> Engine Performance >> System >> Engine Controls - Tests W/Codes - Base Module >> System Tests >> Preparation For Tests (Section 22)

Preparation For Tests (Section 22)

  1. Turn ignition OFF.
  2. Disconnect socket box with contact module 1 and contact box.
Fig 1: Identifying Special Tools
G00224206Courtesy of MERCEDES-BENZ OF NORTH AMERICA.
Fig 2: Connecting Socket Box To Control Module (Model 129)
G00224207Courtesy of MERCEDES-BENZ OF NORTH AMERICA.
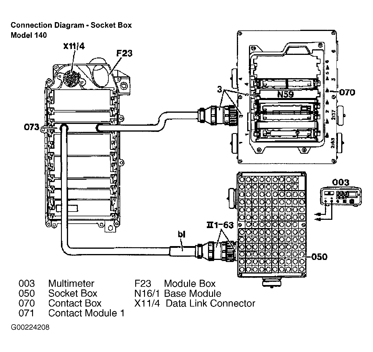
Fig 3: Connecting Socket Box To Control Module (Model 140)
G00224208Courtesy of MERCEDES-BENZ OF NORTH AMERICA.