LEMON Manuals: Even more car manuals for everyone
Home >> Mazda >> 2022 >> CX-5 S Select >> Repair and Diagnosis >> External Pages >> Different car >> Section 366 (On-Board Diagnostic - Power Liftgate (PLG) Control Module) >> DTC B1453-62: Latch Condition Malfunction [Power Liftgate (PLG) Control Module] >> Notes

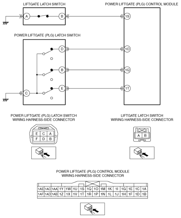
DTC B1453-62: Latch Condition Malfunction [Power Liftgate (PLG) Control Module]: Notes

WARNING: This page is about a different car, the 2021 Mazda CX-5. However, it is still accessible from the selected car via links, so may be relevant.
DTC B1453:62 (POWER LIFTGATE CONTROL MODULE) DETECTION CONDITION AND POSSIBLE CAUSE

Description Latch condition malfunction
Detection condition
  • The power liftgate (PLG) control module detects a latch condition malfunction.
Fail-safe
  • Stops the power liftgate (PLG) system operation.
Possible cause
  • Liftgate latch switch connector or terminal malfunction
  • Open circuit in wiring harness between liftgate latch switch terminal A and body ground
  • Liftgate latch switch malfunction
  • Power liftgate (PLG) latch switch connector or terminal malfunction
  • Open circuit in wiring harness between power liftgate (PLG) latch switch terminal C and body ground
  • Power liftgate (PLG) control module connector or terminal malfunction
  • Short to ground in wiring harness between the following terminals:
  • Liftgate latch switch terminal B-Power liftgate (PLG) control module terminal 1S
  • Power liftgate (PLG) latch switch terminal E-Power liftgate (PLG) control module terminal 1T
  • Power liftgate (PLG) latch switch terminal B-Power liftgate (PLG) control module terminal 1Q
    • Power liftgate (PLG) latch switch terminal D-Power liftgate (PLG) control module terminal 1O
  • Short to power supply in wiring harness between the following terminals:
  • Liftgate latch switch terminal B-Power liftgate (PLG) control module terminal 1S
  • Power liftgate (PLG) latch switch terminal E-Power liftgate (PLG) control module terminal 1T
  • Power liftgate (PLG) latch switch terminal B-Power liftgate (PLG) control module terminal 1Q
    • Power liftgate (PLG) latch switch terminal D-Power liftgate (PLG) control module terminal 1O
  • Open circuit in wiring harness between the following terminals:
  • Liftgate latch switch terminal B-Power liftgate (PLG) control module terminal 1S
  • Power liftgate (PLG) latch switch terminal E-Power liftgate (PLG) control module terminal 1T
  • Power liftgate (PLG) latch switch terminal B-Power liftgate (PLG) control module terminal 1Q
    • Power liftgate (PLG) latch switch terminal D-Power liftgate (PLG) control module terminal 1O
  • Power liftgate (PLG) latch switch malfunction
  • Power liftgate (PLG) control module malfunction
G13675463Courtesy of MAZDA MOTORS CORP.