LEMON Manuals: Even more car manuals for everyone
Home >> Mazda >> 2022 >> 3 Base >> Repair and Diagnosis (Single Page) >> Engine Performance >> System >> On-Board Diagnostic - Engine Control (VIN 7/VIN L) (5 Of 10) >> DTC P061F-00: Internal Control Module Throttle Valve Actuator Controller Performance Problem >> Outline

DTC P061F-00: Internal Control Module Throttle Valve Actuator Controller Performance Problem: Outline

DTC P061F:00 (PCM, SKYACTIV-G) DETECTION CONDITION AND POSSIBLE CAUSE

System malfunction location Internal control module throttle valve actuator controller performance problem
Detection condition
  • When any of the following conditions is met:
  • LF control unit internal malfunction
  • CAN communication line malfunction between LF control unit and PCM
  • PCM internal malfunction
Fail-safe
  • Not applicable
Possible cause
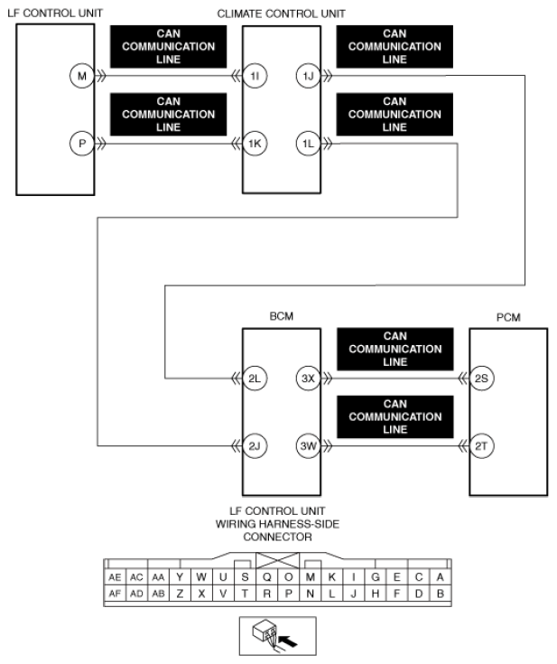
  • CAN communication line malfunction between LF control unit and PCM
  • LF control unit connector or terminals malfunction
  • PCM connector or terminals malfunction
  • LF control unit malfunction
  • PCM malfunction
G14578801Courtesy of MAZDA MOTORS CORP.
G14578802Courtesy of MAZDA MOTORS CORP.