LEMON Manuals: Even more car manuals for everyone
Home >> Mazda >> 2021 >> CX-3 AWD >> Repair and Diagnosis >> External Pages >> Different car >> Section 21 (Air Bag System (Service Information) - Two-Step Deployment Control System) >> Air Bag Module And Pre-TENSIONER Seat Belt Deployment Procedures >> Deployment Procedure for Outside of Vehicle >> Side Air Bag Module

Side Air Bag Module

WARNING: This page is about a different car, the 2016 Mazda CX-3. However, it is still accessible from the selected car via links, so may be relevant.
  1. Remove the following parts:
    1. Front seat Refer to FRONT SEAT REMOVAL/INSTALLATION .)
    2. Front seat back trim and pad Refer to FRONT SEAT BACK TRIM REMOVAL/INSTALLATION .)
    3. Side air bag module Refer to SIDE AIR BAG MODULE REMOVAL/INSTALLATION .)
  2. Install the nuts.
    Fig 1: Connecting Side Air Bag Module Connector To SST (Adapter Harness) Terminals
    G10910682Courtesy of MAZDA MOTORS CORP.
  3. Connect the side air bag module connector to either one of the SST (Adapter harness)  terminals shown in the figure.
  4. Put the side air bag module inside the tire and secure it to the tire by wrapping a wire (cross section of 1.25 mm 2  {0.002 in 2  } or more)  through the tire and the bolt at least 4 times.
    Fig 2: Putting Side Air Bag Module Inside Tire
    G10910683Courtesy of MAZDA MOTORS CORP.
    WARNING:
    • If the air bag module is not properly secured to the tire, the tires may fall over by the impact of operation (deployment) and cause serious injury. To prevent this, secure the air bag module properly with the padded surface facing the center of the tire.
  5. Stack the tire with the side air bag module on top of two tires without wheels. Stack a tire without a wheel on top of the tire with the side air bag module, and then stack another tire with a wheel on the very top.
    Fig 3: Stacking Tire With Side Air Bag Module On Top Of Tires Without Wheels
    G10910684Courtesy of MAZDA MOTORS CORP.
  6. Secure the tires with wire.
    Fig 4: Securing Tires With Wire
    G10910685Courtesy of MAZDA MOTORS CORP.
  7. Connect the SST (Deployment tool)  to the SST (Adapter harness)  .
    Fig 5: Connecting SST (Deployment Tool) To SST (Adapter Harness)
    G10910686Courtesy of MAZDA MOTORS CORP.
  8. Connect the SST (Deployment tool)  to the battery. Connect the power supply red clip to the positive battery terminal, and the black clip to the negative battery terminal.
  9. Verify that the red lamp on the SST (Deployment tool)  is illuminated.
  10. Verify that all persons are standing at least 6 m {20 ft} away from the side air bag module.
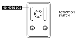
  11. Press the activation switch on the SST (Deployment tool)  to operate (deploy) the side air bag module.
    Fig 6: Pressing Activation Switch On SST (Deployment Tool)
    G10910687Courtesy of MAZDA MOTORS CORP.
    WARNING:
    • The air bag module is very hot immediately after it is operated (deployed). You can be burned. Do not touch the air bag module for at least 15 min after deployment.
  12. Disconnect the SST (Deployment tool)  from the SST (Adapter harness)  .