LEMON Manuals: Even more car manuals for everyone
Home >> Mazda >> 2021 >> CX-3 AWD >> Repair and Diagnosis >> External Pages >> Different car >> Section 21 (Air Bag System (Service Information) - Two-Step Deployment Control System) >> Air Bag Module And Pre-TENSIONER Seat Belt Deployment Procedures >> Deployment Procedure for Inside of Vehicle >> Side Air Bag Module

Side Air Bag Module

WARNING: This page is about a different car, the 2016 Mazda CX-3. However, it is still accessible from the selected car via links, so may be relevant.
  1. Disconnect the front seat connector.
    Fig 1: Disconnecting Front Seat Connector
    G10910655Courtesy of MAZDA MOTORS CORP.
  2. Connect the SST (Adapter harness)  to the front seat connector as shown in the figure.
    Fig 2: Connecting SST (Adapter Harness) To Front Seat Connector
    G10910656Courtesy of MAZDA MOTORS CORP.
  3. Connect the SST (Deployment tool)  to the SST (Adapter harness)  .
    Fig 3: Connecting SST (Deployment Tool) To SST (Adapter Harness)
    G10910657Courtesy of MAZDA MOTORS CORP.
  4. Connect the SST (Deployment tool)  to the battery. Connect the power supply red clip to the positive battery terminal, and the black clip to the negative battery terminal.
  5. Verify that the red lamp on the SST (Deployment tool)  is illuminated.
  6. Verify that all persons are standing at least 6 m {20 ft}  away from the vehicle.
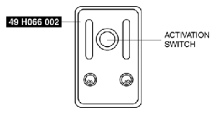
  7. Press the activation switch on the SST (Deployment tool)  to operate (deploy) the side air bag module.
    Fig 4: Pressing Activation Switch On SST (Deployment Tool)
    G10910658Courtesy of MAZDA MOTORS CORP.
    WARNING:
    • The air bag module is very hot immediately after it is operated (deployed). You can be burned. Do not touch the air bag module for at least 15 min after deployment.
  8. Disconnect the SST (Deployment tool)  from the SST (Adapter harness)  .