LEMON Manuals: Even more car manuals for everyone
Home >> Mazda >> 2021 >> CX-3 AWD >> Repair and Diagnosis >> External Pages >> Different car >> Section 21 (Air Bag System (Service Information) - Two-Step Deployment Control System) >> Air Bag Module And Pre-TENSIONER Seat Belt Deployment Procedures >> Deployment Procedure for Inside of Vehicle >> Driver-side Air Bag Module

Driver-side Air Bag Module

WARNING: This page is about a different car, the 2016 Mazda CX-3. However, it is still accessible from the selected car via links, so may be relevant.
WARNING:
  • The driver-side air bag module is a dual inflator type. If one inflator is forced to operate (deploy), the other may operate (deploy) accidentally. To prevent injury while disposing of the air bag module, make sure to operate (deploy) both driver-side air bag module inflators simultaneously, following the procedure below.
NOTE:
  • The SSTs, two types of adapter harnesses (for inflators No. 1 and No. 2) and two deployment tools are to be used to operate (deploy) the driver-side air bag module.
  1. Remove the driver-side air bag module. Refer to DRIVER-SIDE AIR BAG MODULE REMOVAL .)
  2. Connect the SST (Adapter harness)  to the driver-side air bag module as shown in the figure.
    Fig 1: Connecting SST (Adapter Harness) To Driver-Side Air Bag Module
    G10910648Courtesy of MAZDA MOTORS CORP.
  3. Install the driver-side air bag module. Refer to DRIVER-SIDE AIR BAG MODULE INSTALLATION .)
  4. Connect the SST (Deployment tool)  to the SST (Adapter harness)  .
    Fig 2: Connecting SST (Deployment Tool) To SST (Adapter Harness)
    G10910649Courtesy of MAZDA MOTORS CORP.
  5. Connect the SST (Deployment tool)  to the battery. Connect the power supply red clip to the positive battery terminal, and the black clip to the negative battery terminal.
  6. Verify that the red lamp on the SST (Deployment tool)  is illuminated.
  7. Verify that all persons are standing at least 6 m {20 ft} away from the vehicle.
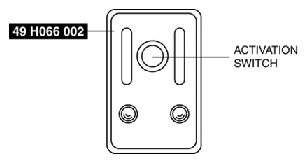
  8. Press the activation switch on the SST (Deployment tool)  connected with 49 L066 002  (a yellow connector) of the SST (Adapter harness),  and after 3 s, press the activation switch on the other SST (Deployment tool)  to operate (deploy) the air bag module (both inflators).
    Fig 3: Pressing Activation Switch On SST (Deployment Tool)
    G10910650Courtesy of MAZDA MOTORS CORP.
    WARNING:
    • Verify that air bag module operation (explosive) sound occurs twice. If no operation (explosive) sound was heard or a single operation (explosive) sound was heard, both inflators would not have operated (deployed) properly. This may cause serious injury if the air bag module operates (deploy) unexpectedly. If the two operation (explosive) sounds are not heard, perform Step  8 again. If a total of two operation (explosive) sounds cannot be verified even though Step 8 is performed again, leave the air bag module alone for 30 min or more before approaching it again.
    • The air bag module is very hot immediately after it is operated (deployed). You can get burned. Do not touch the air bag module for at least 15 min after deployment.
  9. Disconnect the SST (Deployment tool)  from the SST (Adapter harness)  .