LEMON Manuals: Even more car manuals for everyone
Home >> Mazda >> 2021 >> 3 Base >> Repair and Diagnosis (Single Page) >> Engine Performance >> System >> On-Board Diagnostic - Engine Control System (VINS 7, L, M) (Introduction) >> OBD-II Drive Mode (VIN M) >> Mode 03 (Variable Valve Timing, A/F Sensor, HO2S and TWC Repair Verification Drive Mode)

Mode 03 (Variable Valve Timing, A/F Sensor, HO2S and TWC Repair Verification Drive Mode)

  1. Start the engine and warm it up completely.
  2. Verify all accessory loads (A/C, headlights, blower fan, rear window defogger) are off.
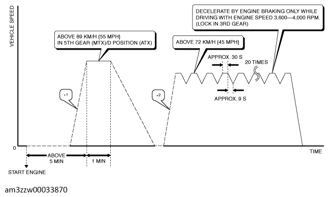
  3. Drive the vehicle as shown in the graph.
    G13556278Courtesy of MAZDA MOTORS CORP.

    *1: MTX: accelerate in 5th gear. (accelerate to 89 km/h {55 mph}within 20 s.)/ATX: accelerate in D position. (accelerate to 89 km/h {55 mph}within 20 s.)

    *2: Accelerate in 3rd gear. (accelerate to 72 km/h {45 mph}within 15 s.)

  4. To verify the completion of the drive mode, stop the vehicle and display the [Mode 1 Powertrain Data] of the ON-BOARD DIAGNOSTIC (OBD) TEST MODES using the M-MDS.

    (See ON-BOARD DIAGNOSTIC (OBD) TEST MODES .)

    • If the drive mode has been completed, [***RDY] (each system completed) of the PID [***SUP] (with/without support for each system monitor) item indicating YES changes from NO to YES.
      • If the drive mode has not been completed, switch the ignition off and repeat the procedure from Step 3 again.
  5. Access the diagnostic monitoring test results menu of generic OBD-II functions to verify the monitor results.

    (See ON-BOARD DIAGNOSTIC (OBD) TEST MODES .)

    • If detected values are not within specification, repair has not been completed.
  6. Verify that no DTCs are displayed.