LEMON Manuals: Even more car manuals for everyone
Home >> Mazda >> 2019 >> 6 Signature >> Repair and Diagnosis >> Accessories & Equipment >> Drivers Assistance Systems - ADAS >> On-Board Diagnostics - Blind Spot Monitoring Control Module >> On-Board Diagnostic Wiring Diagram (Blind Spot Monitoring (BSM) Control Module)

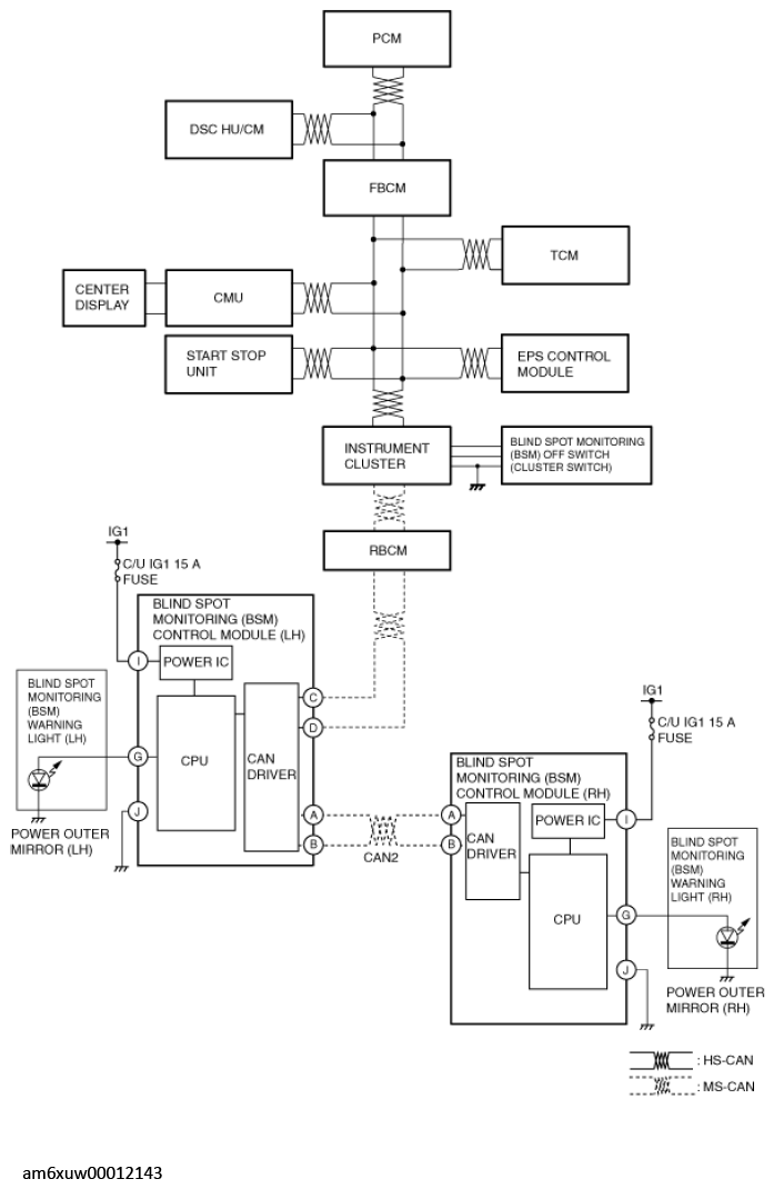
On-Board Diagnostic Wiring Diagram (Blind Spot Monitoring (BSM) Control Module)

Fig 1: On-Board Diagnostic Wiring Diagram - Blind Spot Monitoring Control Module
G12236671Courtesy of MAZDA MOTORS CORP.