LEMON Manuals: Even more car manuals for everyone
Home >> Mazda >> 2017 >> CX-5 Grand Select, AWD >> Repair and Diagnosis >> Accessories & Equipment >> Headlights >> On-Board Diagnostic - Adaptive Front Lighting System Control Module >> DTC U3003:16 [Adaptive Front Lighting System (AFS) Control Module] >> Notes

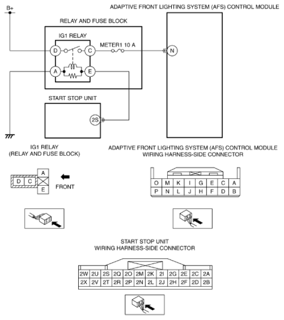
DTC U3003:16 [Adaptive Front Lighting System (AFS) Control Module]: Notes

DTC U3003:16 (ADAPTIVE FRONT LIGHTING SYSTEM (AFS) CONTROL MODULE) DETECTION CONDITION & POSSIBLE CAUSE

Description Adaptive front lighting system (AFS) control module low power supply voltage input
Detection condition
  • Adaptive front lighting system (AFS) control module power supply circuit voltage of 9 V or less is detected for 5 s or more with the ignition switched ON (engine off or on).
Fail-safe
  • The swivel actuator is stopped at the position when the malfunction is determined.
  • The headlight leveling actuator is stopped at the position when the malfunction is determined.
Possible cause
  • DTCs are stored in the PCM.
  • Battery malfunction
  • Generator malfunction
  • Adaptive front lighting system (AFS) control module connector or terminal malfunction
  • Adaptive front lighting system (AFS) control module power supply circuit malfunction
    • Short to ground in wiring harness between METER1 10 A fuse and adaptive front lighting system (AFS) control module terminal N
    • METER1 10 A fuse malfunction
      • Open circuit in wiring harness between IG1 relay terminal C and adaptive front lighting system (AFS) control module terminal N
  • Adaptive front lighting system (AFS) control module malfunction
G11432100