LEMON Manuals: Even more car manuals for everyone
Home >> Mazda >> 2014 >> 3 SV, Automatic Trans >> Repair and Diagnosis >> External Pages >> Different car >> Section 29 (On-Board Diagnostic - Front Body Control Module) >> DTC B13D0 11: TNS Circuit Malfunction >> Notes

DTC B13D0 11: TNS Circuit Malfunction: Notes

WARNING: This page is about a different car, the 2014 Mazda 6. However, it is still accessible from the selected car via links, so may be relevant.
DTC B13D0:11 (FRONT BODY CONTROL MODULE) DETECTION CONDITION AND POSSIBLE CAUSES

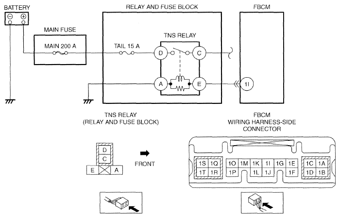
Description  TNS circuit malfunction 
Detection condition 
  • Front body control module (FBCM) detects a short to ground in the TNS relay circuit with the ignition switched ON (engine off or on).
Fail-safe function  Not applicable
Possible cause 
  • TNS relay malfunction
  • Front body control module (FBCM) connector or terminal malfunction
  • Short to ground in wiring harness between TNS relay terminal E and front body control module (FBCM) terminal 1I
  • Front body control module (FBCM) malfunction
G09786572Courtesy of MAZDA MOTORS CORP.