LEMON Manuals: Even more car manuals for everyone
Home >> Mazda >> 2012 >> 6 s Touring Plus >> Repair and Diagnosis >> External Pages >> Different car >> Section 584 (Security System And Locks System) >> Trunk Lid Opener Switch Inspection >> Vehicle Exterior (With Advanced Keyless Entry And Push Button Start System)

Vehicle Exterior (With Advanced Keyless Entry And Push Button Start System)

WARNING: This page is about a different car, the 2009 Mazda 6. However, it is still accessible from the selected car via links, so may be relevant.
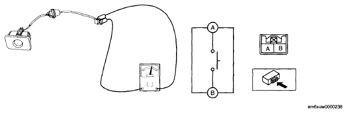
  1. Disconnect the negative battery cable.
  2. Remove the rear finisher. (See REAR FINISHER REMOVAL/INSTALLATION .)
  3. Remove the trunk lid opener switch. (See TRUNK LID OPENER SWITCH REMOVAL/INSTALLATION .)
  4. Verify the continuity of trunk lid opener switch terminals A and B.
    Fig 1: Checking Trunk Lid Opener Switch Continuity
    G06201009Courtesy of MAZDA MOTORS CORP.
  5. Verify that the continuity is as indicated in the table.
Fig 2: Trunk Lid Opener Switch Continuity Table
G06201008Courtesy of MAZDA MOTORS CORP.