LEMON Manuals: Even more car manuals for everyone
Home >> Mazda >> 2012 >> 6 s Touring Plus >> Repair and Diagnosis >> External Pages >> Different car >> Section 584 (Security System And Locks System) >> Keyless Beeper Inspection [Advanced Keyless Entry And Push Button Start System]

Keyless Beeper Inspection [Advanced Keyless Entry And Push Button Start System]

WARNING: This page is about a different car, the 2009 Mazda 6. However, it is still accessible from the selected car via links, so may be relevant.
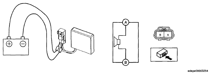
  1. Disconnect the negative battery cable.
  2. Remove the keyless beeper. (See KEYLESS BEEPER REMOVAL/INSTALLATION [ADVANCED KEYLESS ENTRY AND PUSH BUTTON START SYSTEM] .)
  3. Apply battery positive voltage and connect the ground to each terminal and verify the keyless beeper sound operation
    • If the beep sound cannot be verified, replace the keyless beeper.
    Fig 1: Inspecting Keyless Beeper
    G06200989Courtesy of MAZDA MOTORS CORP.