LEMON Manuals: Even more car manuals for everyone
Home >> Mazda >> 2012 >> 6 s Touring Plus >> Repair and Diagnosis >> Body & Frame >> Door Locks >> Security System And Locks System >> Keyless Beeper Inspection [Advanced Keyless Entry And Push Button Start System]

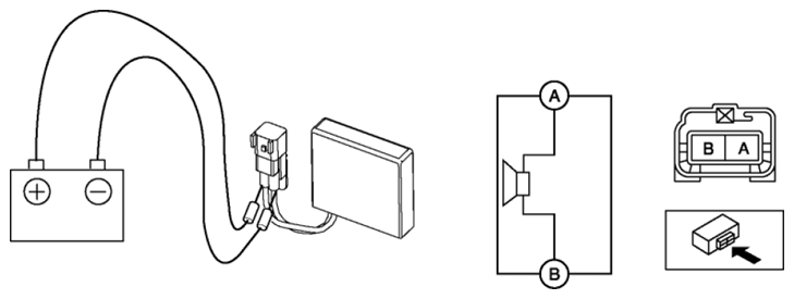
Keyless Beeper Inspection [Advanced Keyless Entry And Push Button Start System]

  1. Disconnect the negative battery cable.
  2. Remove the keyless beeper. (See KEYLESS BEEPER REMOVAL/INSTALLATION [ADVANCED KEYLESS ENTRY AND PUSH BUTTON START SYSTEM] .)
  3. Apply battery positive voltage and connect the ground to each terminal and verify the keyless beeper sound operation.
    • If the beep sound cannot be verified, replace the keyless beeper.
      Fig 1: Checking Keyless Beeper Sound Operation
      G08144617