LEMON Manuals: Even more car manuals for everyone
Home >> Mazda >> 2009 >> 5 Touring, 2.3 L >> Repair and Diagnosis >> Engine Performance >> Engine Control Systems >> Engine Control System (L3) >> Pcm Removal/Installation [L3]

Pcm Removal/Installation [L3]

  1. When replacing the PCM, perform the following:
  2. Remove the battery cover, battery duct, battery and battery tray with PCM. (See BATTERY REMOVAL/INSTALLATION [L3] .)
  3. Disconnect the PCM connector.
  4. Remove the PCM from the battery tray.
  5. When replacing the PCM on the vehicles, perform the following:
  6. Install in the reverse order of removal.
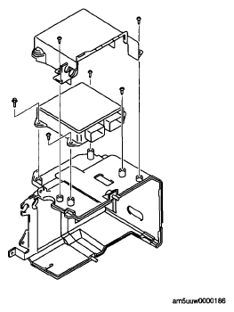
    Fig 1: Identifying PCM Components
    G05543200Courtesy of MAZDA MOTORS CORP.