LEMON Manuals: Even more car manuals for everyone
Home >> Mazda >> 2007 >> B3000 Base, Standard >> Repair and Diagnosis >> External Pages >> Different car >> Section 432 (Security System And Locks System) >> Code Word Input Procedure >> California Emission Regulation Applicable Models.

California Emission Regulation Applicable Models.

WARNING: This page is about a different car, the 2005 Mazda MPV. However, it is still accessible from the selected car via links, so may be relevant.
  1. Wait for 5 minutes until security light flashes slowly. (300 ms  ON- 300 ms  OFF --> 1.2 s  ON- 1.2 s  OFF)
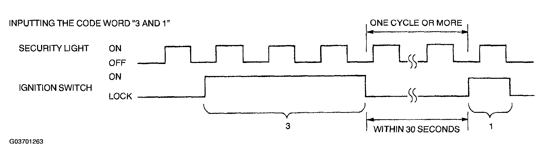
  2. Input the code word as shown in the example below.
    Fig 1: Security Light Blinking Pattern - 3 And 1 Pattern
    G03701263Courtesy of MAZDA MOTORS CORP.
    1. Turn ignition switch to ON position while security light is off and count three illumination cycles. As the light goes out after the third illumination, turn key to LOCK position.
    2. Wait at least one illumination cycle and within 30 seconds  of going to LOCK position, turn ignition switch to ON position while security light is off and count one illumination cycle. As the light goes out after the first illumination, turn key to LOCK position.
    3. Repeat Step  2 for rest of six digits.
  3. When code word is registered correctly in the PCM, the security light stops flashing and illuminates.
  4. As soon as the security light stops flashing and illuminates, the following immobilizer system reprogram procedure should be started.
    NOTE:

Examples of incorrect input of code word 

NOTE:
  • The security light must flash one or more times between the digits of the code word.
  • If the code word is input incorrectly, the security light goes out. Remove and insert key five times  and repeat the procedure to input all eight figures for the code word.
  • When an error occurs during the reprogram procedures except when both the immobilizer unit and PCM are replaced, repeat the procedure from Step 1. If you still cannot reprogram, confirm how many keys can start the engine. Then, perform the key replacement or addition reprogram procedure according to the valid key number.