LEMON Manuals: Even more car manuals for everyone
Home >> Mazda >> 2007 >> B3000 Base, Standard >> Repair and Diagnosis >> External Pages >> Different car >> Section 208 (Security System And Locks System) >> Hood Switch Removal/Installation

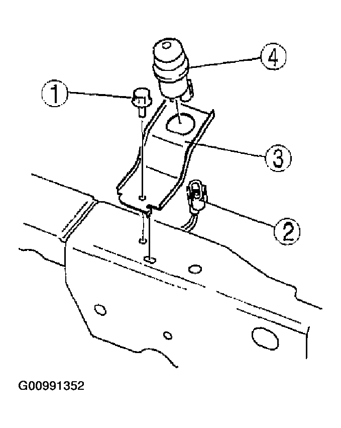
Hood Switch Removal/Installation

WARNING: This page is about a different car, the 2004 Mazda MPV. However, it is still accessible from the selected car via links, so may be relevant.
  1. Disconnect the negative battery cable.
  2. Remove in the order indicated in the figures.
    Fig 1: Continuity Table Hood Switch
    G00991351Courtesy of MAZDA MOTORS CORP.
    Fig 2: Removing/Installing Hood Switch
    G00991352Courtesy of MAZDA MOTORS CORP.
  3. Install in the reverse order of removal.