LEMON Manuals: Even more car manuals for everyone
Home >> Mazda >> 2007 >> B3000 Base, Automatic >> Repair and Diagnosis >> External Pages >> Different car >> Section 496 (On-Board Diagnostic (Engine Control System 13BMSP]) >> OBD-II Drive Mode >> Single Drive Mode (HO2S heater, HO2S, TWC, AIR System and EVAP System Verification Drive Mode)

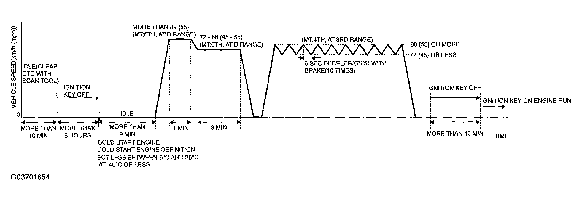
Single Drive Mode (HO2S heater, HO2S, TWC, AIR System and EVAP System Verification Drive Mode)

WARNING: This page is about a different car, the 2005 Mazda RX-8. However, it is still accessible from the selected car via links, so may be relevant.
  1. Verify that all accessory loads (A/C, headlights, blower fan, rear window defroster) are off.
  2. Clear the DTC and from the PCM memory using the WDS or equivalent.
  3. Drive the vehicle as shown in the graph. The driving condition before driving at constant speed is not specified.
    Fig 1: Identifying Single Drive Mode Vehicle Graph
    G03701654Courtesy of MAZDA MOTORS CORP.
  4. Stop the vehicle and access the ON BOARD SYSTEM READINESS to inspect the Drive Mode completion status.
    • If completed, all of RFC changes from No to Yes.
    • If not completed, turn the ignition switch off, then for the monitoring item that was not in the detection condition, perform the applicable specific drive mode.
  5. Access the DIAGNOSTIC MONITORING TEST RESULTS to inspect the monitor results.
    • If detect values are not within specification, repair has not been completed.