LEMON Manuals: Even more car manuals for everyone
Home >> Mazda >> 2007 >> 6 Mazdaspeed >> Repair and Diagnosis >> Engine Performance >> System >> On-Board Diagnostic [Engine Control System L3 With TC] >> DTC P0703 >> Notes

DTC P0703: Notes

DTC P0703 DETECTION CONDITION AND POSSIBLE CAUSES

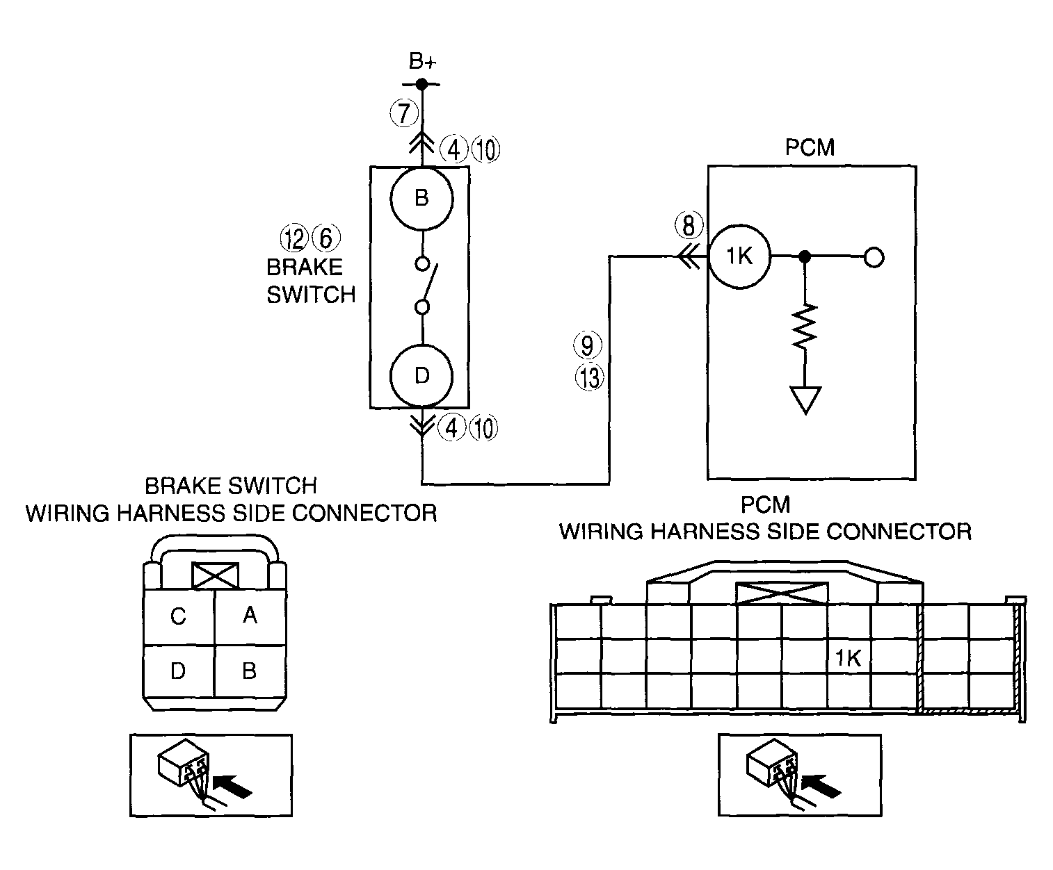
DTC P0703 Brake switch No. 1 circuit malfunction
DETECTION CONDITION 
  • PCM monitors changes in the input voltage from the brake switch. If the PCM does not detect the voltage change while alternately accelerating and decelerating 8 times  , the PCM determines that the brake switch circuit has a malfunction.

Diagnostic support note 
  • This is a continuous monitor (CCM).
  • MIL illuminates if the PCM detects the above malfunction condition in two consecutive drive cycles or in one drive cycle while the DTC for the same malfunction has been stored in the PCM.
  • PENDING CODE is available if the PCM detects the above malfunction condition during the first drive cycle.
  • FREEZE FRAME DATA is available.
  • DTCs are stored in PCM memory.
POSSIBLE CAUSE 
  • Brake switch malfunction
  • Poor connection of the brake switch connector or the PCM connector
  • Short to the power supply between brake switch terminal D and PCM connector terminal 1K
  • Open circuit between brake switch terminal D and PCM connector terminal 1K
  • Open circuit between the battery positive terminal and brake switch terminal B
  • PCM malfunction
G04324130Courtesy of MAZDA MOTORS CORP.