LEMON Manuals: Even more car manuals for everyone
Home >> Mazda >> 2006 >> MX-5 Miata Base >> Repair and Diagnosis >> Engine Performance >> System >> On-Board Diagnostic [Engine Control System] >> DTC P0500 >> Notes

DTC P0500: Notes

DETECTION CONDITION AND POSSIBLE CAUSE (DTC P0500)

DTC P0500 VSS circuit problem
DETECTION CONDITION  With ABS/DSC
  • If an error in the wheel speed signal from the ABS/DSC HU/CM is detected by CAN when the following conditions are met:
    • Neutral switch and clutch pedal position switch are OFF
    • Load is above 40% 
    • Engine speed is 2,000 rpm or above 
    • Brake switch is OFF
    • Shift lever position (P, N, R position) (AT)

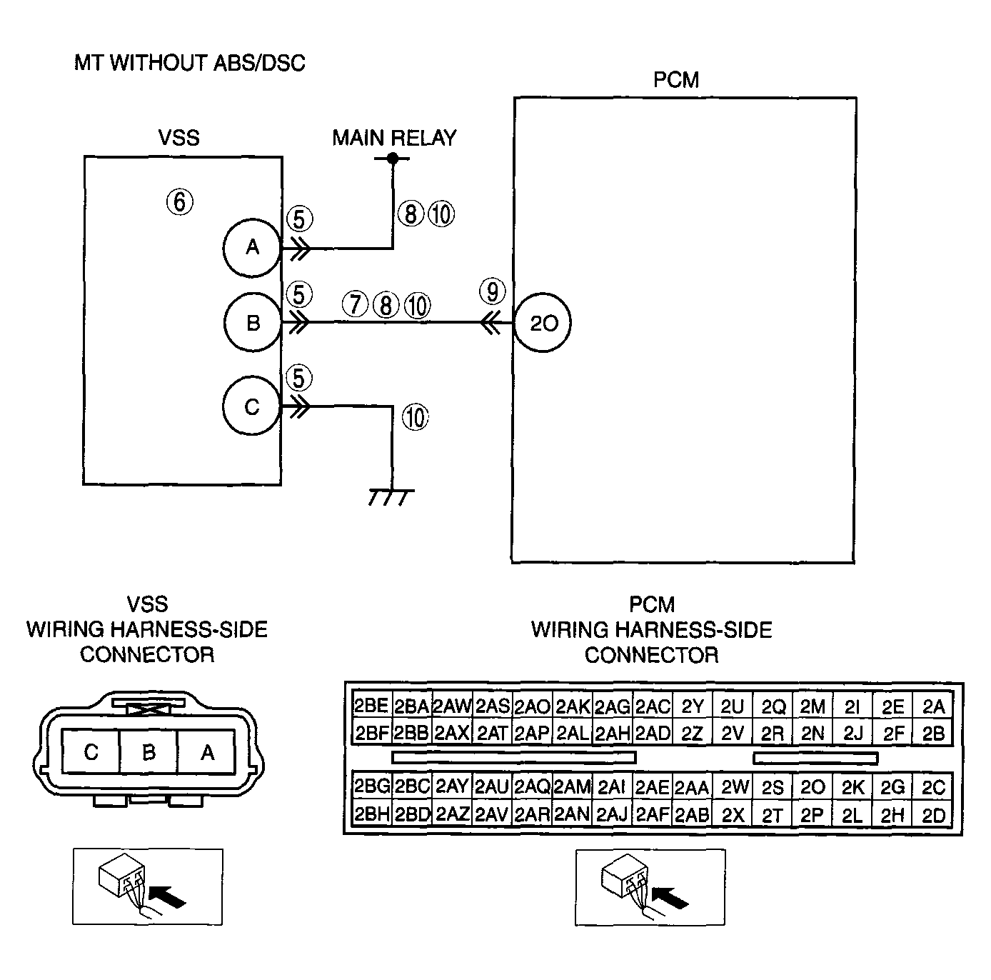
MT without ABS/DSC 
  • Vehicle speed signal from vehicle speed sensor is below 3.7 km/h {2.3 mph} when the following conditions are met:
    • Neutral switch and clutch pedal position switch are OFF
    • Load is above 40% 
    • Engine speed is 2,000 rpm or above 
    • Brake switch is OFF

Diagnostic support note 
  • This is a continuous monitor (CCM).
  • The MIL illuminates if the PCM detects the above malfunction condition in two consecutive drive cycles or in one drive cycle while the DTC for the same malfunction has been stored in the PCM.
  • PENDING CODE is available if the PCM detects the above malfunction condition during the first drive cycle.
  • FREEZE FRAME DATA is available.
  • The DTC is stored in the PCM memory.
POSSIBLE CAUSE  With ABS/DSC
  • Front ABS wheel-speed sensor malfunction
  • ABS/DSC HU/CM malfunction
  • Connector or terminal malfunction
  • PCM malfunction

MT without ABS/DSC 
  • VSS malfunction
  • Connector or terminal malfunction
  • Open circuit in wiring harness between PCM terminal 2O and VSS terminal B
  • Open circuit in wiring harness between main relay and VSS terminal A
  • Open circuit in wiring harness between VSS terminal C and body ground
  • Shot to ground in wiring harness between main relay and VSS terminal A
  • Short to ground in wiring harness between PCM terminal 2O and VSS terminal B
  • Short to power supply in wiring harness between PCM terminal 2O and VSS terminal B
  • PCM malfunction
G04317726Courtesy of MAZDA MOTORS CORP.