LEMON Manuals: Even more car manuals for everyone
Home >> Mazda >> 2006 >> MX-5 Miata Base >> Repair and Diagnosis >> Engine Performance >> System >> On-Board Diagnostic [Engine Control System] >> DTC P0480 >> Notes

DTC P0480: Notes

DETECTION CONDITION AND POSSIBLE CAUSE (DTC P0480)

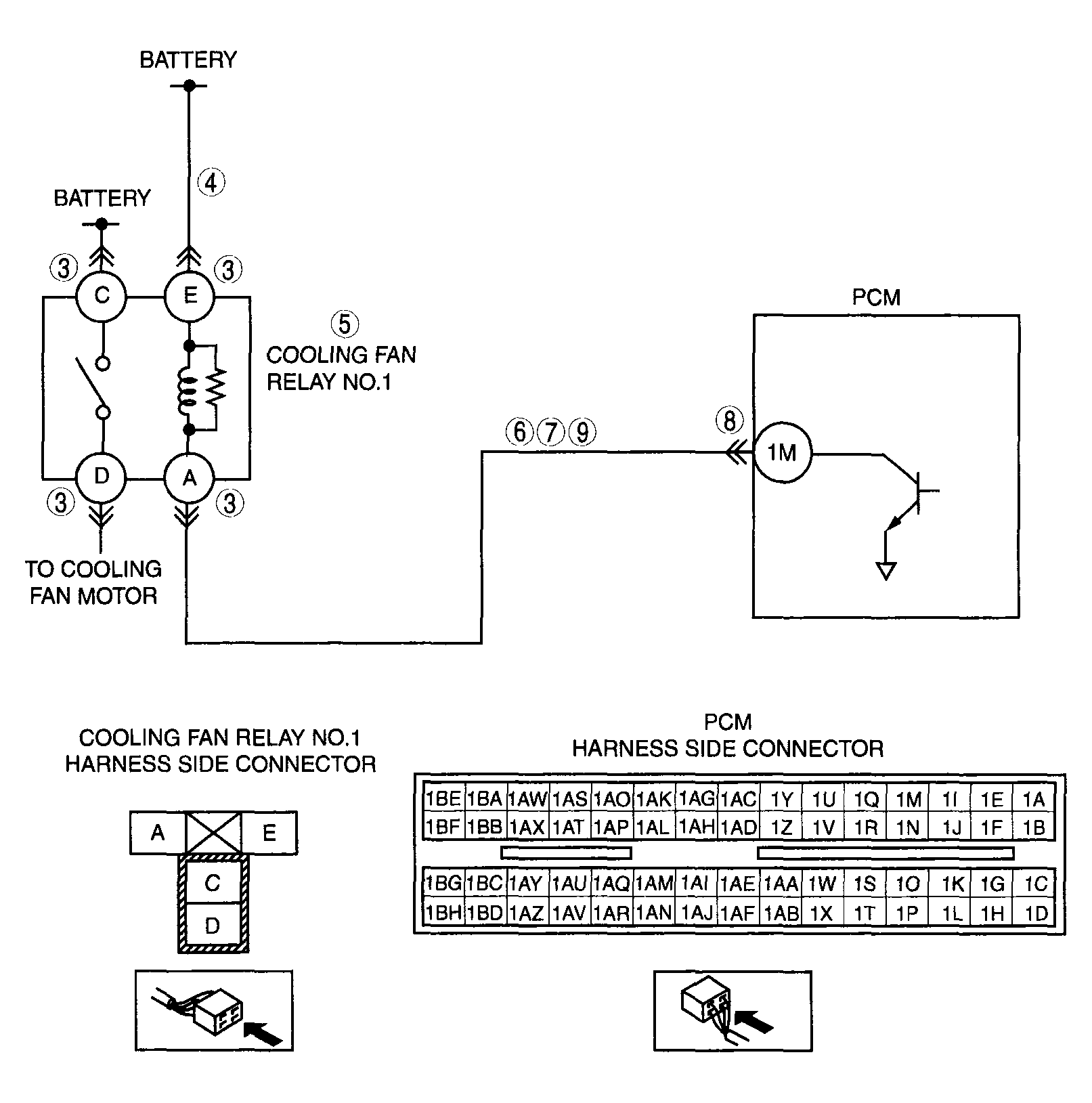
DTC P0480 Cooling fan relay No.1 control circuit malfunction
DETECTION CONDITION 
  • The PCM monitors the cooling fan relay No.1 control signal voltage and current. If the following conditions are met, the PCM determines that there is the cooling fan relay No.1 control circuit problem.
    • The PCM turns the cooling fan relay No.1 off, but the voltage of the cooling fan relay No.1 control signal remains low.
    • The PCM turns the cooling fan relay No.1 on, but the current of the cooling fan relay No.1 control signal remains high.
Diagnostic support note 
  • This is a continuous monitor (Other).
  • The MIL does not illuminate.
  • PENDING CODE is available if the PCM detects the above malfunction condition.
  • FREEZE FRAME DATA is available.
  • The DTC is stored in the PCM memory.
POSSIBLE CAUSE 
  • Cooling fan relay No.1 malfunction
  • Connector or terminal malfunction
  • Open circuit in wiring harness between battery positive terminal and cooling fan relay No.1 terminal E
  • Open circuit in wiring harness between cooling fan relay No.1 terminal A and PCM terminal 1M
  • Short to ground in wiring harness between cooling fan relay No.1 terminal A and PCM terminal 1M
  • Short to power supply between cooling fan relay No.1 terminal A and PCM terminal 1M
  • PCM malfunction
G04317723Courtesy of MAZDA MOTORS CORP.