LEMON Manuals: Even more car manuals for everyone
Home >> Mazda >> 2006 >> MX-5 Miata Base >> Repair and Diagnosis >> Engine Performance >> System >> On-Board Diagnostic [Engine Control System] >> DTC P0340 >> Notes

DTC P0340: Notes

DETECTION CONDITION AND POSSIBLE CAUSE (DTC P0340)

DTC P0340 CMP sensor circuit problem
DETECTION CONDITION 
  • The PCM monitors the input voltage from the CMP sensor when the engine is running. If the PCM does not receive the input voltage from the CMP sensor while the PCM receives the input signal from the CKP sensor, the PCM determines that the CMP sensor circuit has a malfunction.
  • If a malfunction is detected in the input pulse pattern from the CMP sensor.
Diagnostic support note 
  • This is a continuous monitor (CCM).
  • The MIL illuminates if the PCM detects the above malfunction condition during the first drive cycle.
  • PENDING CODE is available if the PCM detects the above malfunction condition.
  • FREEZE FRAME DATA is available.
  • The DTC is stored in the PCM memory.
POSSIBLE CAUSE 
  • CMP sensor malfunction
  • Connector or terminal malfunction
  • CMP sensor is dirty
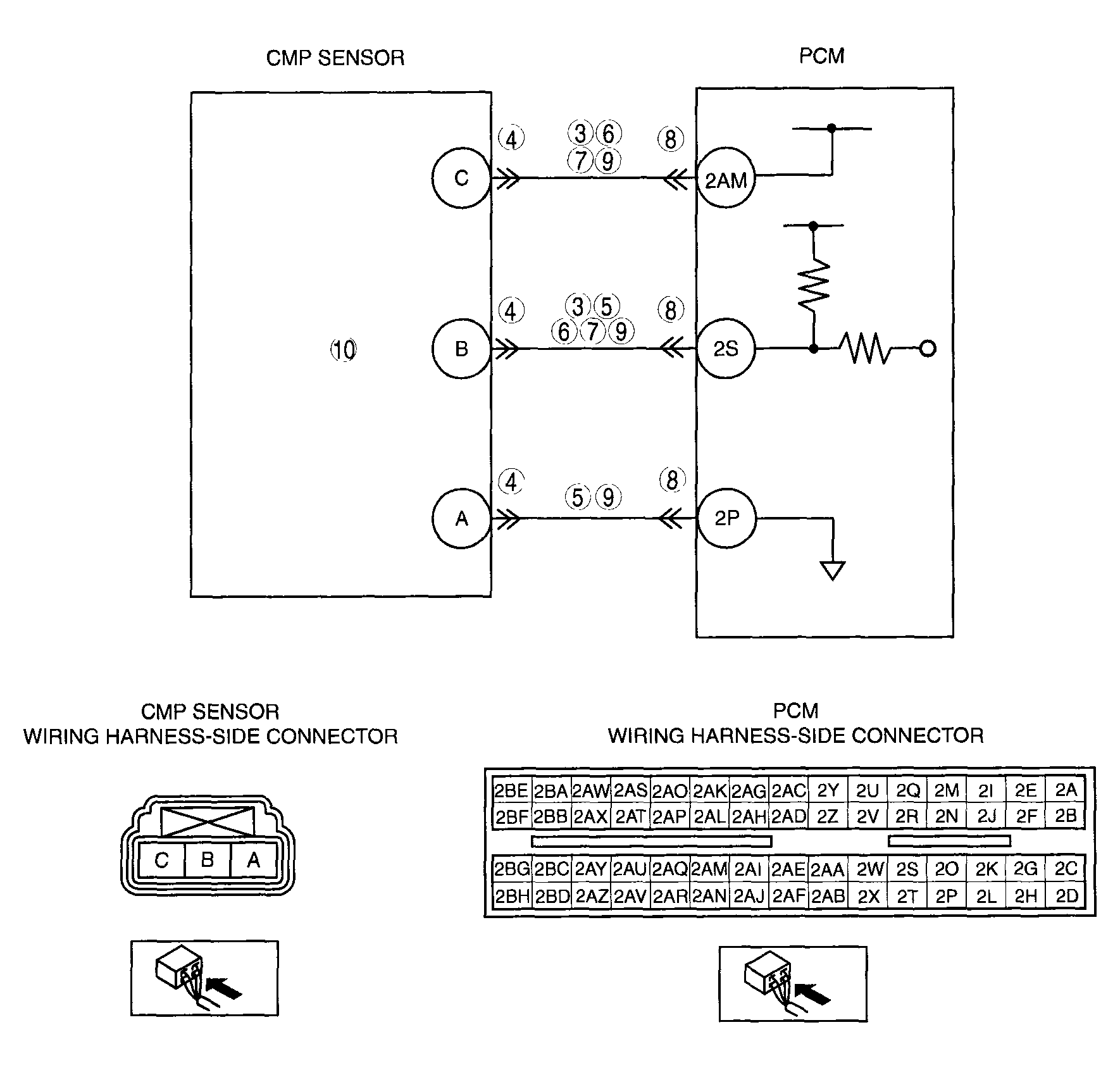
  • Short to power supply in wiring harness between CMP sensor terminal B and PCM terminal 2S
  • Short to power supply in wiring harness between CMP sensor terminal A and PCM terminal 2P
  • Short to ground circuit in wiring harness between CMP sensor terminal C and PCM terminal 2AM
  • Short to ground circuit in wiring harness between CMP sensor terminal B and PCM terminal 2S
  • Open circuit in wiring harness between CMP sensor terminal A and PCM terminal 2P
  • Open circuit in wiring harness between CMP sensor terminal B and PCM terminal 2S
  • Open circuit in wiring harness between CMP sensor terminal C and PCM terminal 2AM
  • Both CMP sensor wires are shorted to each other
  • CMP sensor pulse wheel malfunction
  • CMP sensor misinstallation
  • Timing chain misinstallation
  • Loose timing chain or improper valve timing
  • Loose camshaft sprocket lock bolt
  • Loose crankshaft pulley lock bolt.
  • PCM malfunction
G04317719Courtesy of MAZDA MOTORS CORP.