LEMON Manuals: Even more car manuals for everyone
Home >> Mazda >> 2006 >> MX-5 Miata Base >> Repair and Diagnosis >> Engine Performance >> System >> On-Board Diagnostic [Engine Control System] >> DTC P0032 >> Notes

DTC P0032: Notes

DETECTION CONDITION AND POSSIBLE CAUSE (DTC P0032)

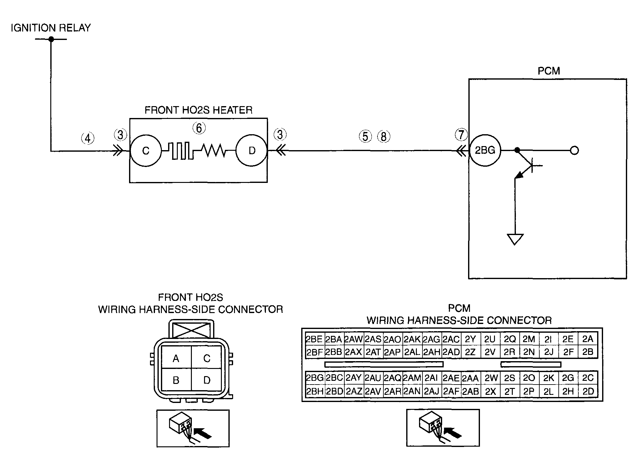
DTC P0032 Front HO2S heater circuit high input
DETECTION CONDITION 
  • The PCM monitors the front HO2S heater control voltage when the PCM turns the front HO2S heater on. If the control voltage is less than 50%  of the battery voltage, the PCM determines that the front HO2S heater control circuit voltage is high.
Diagnostic support note 
  • This is a continuous monitor (HO2S heater).
  • The MIL illuminates if the PCM detects the above malfunction condition in two consecutive drive cycles or in one drive cycle while the DTC for the same malfunction has been stored in the PCM.
  • PENDING CODE is available if the PCM detects the above malfunction condition during the first drive cycle.
  • FREEZE FRAME DATA is available.
  • The DTC is stored in the PCM memory.
POSSIBLE CAUSE 
  • Front HO2S heater malfunction
  • Connector or terminal malfunction
  • Open circuit in wiring harness between ignition relay and front HO2S terminal C
  • Short to ground in wiring harness between ignition relay and front HO2S terminal C
  • Open circuit in wiring harness between front HO2S terminal D and PCM terminal 2BG
  • Short to ground in wiring harness between front HO2S terminal D and PCM terminal 2BG
  • PCM malfunction
G04317695Courtesy of MAZDA MOTORS CORP.