LEMON Manuals: Even more car manuals for everyone
Home >> Mazda >> 2006 >> MPV ES >> Repair and Diagnosis >> Engine Performance >> System >> On-Board Diagnostic [Engine Control System (AJ)] >> DTC P0140, P0160 >> Notes

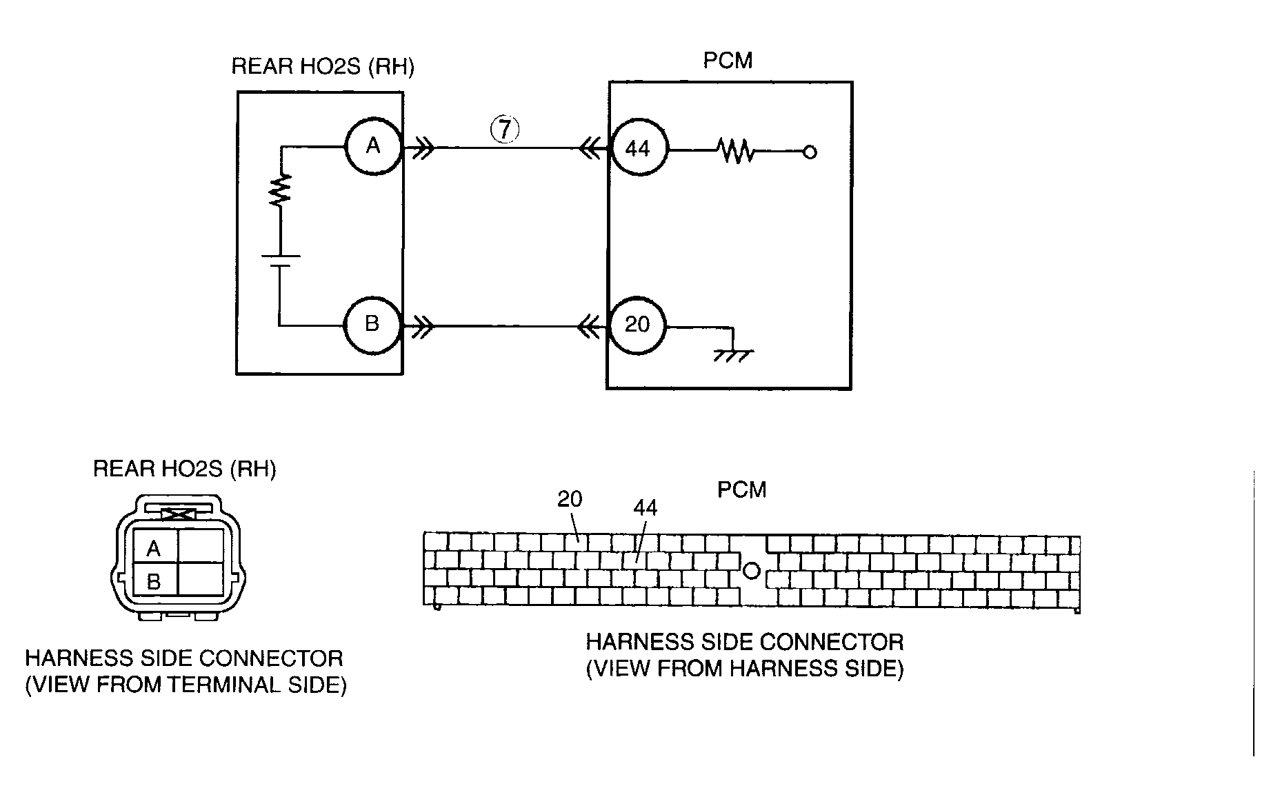
DTC P0140, P0160: Notes

DTC P0140, P0160 [AJ] DETECTION CONDITION AND POSSIBLE CAUSES

DTC P0140 HO2S (Rear, RH) circuit no activity detected
DTC P0160 HO2S (Rear, LH) circuit no activity detected
DETECTION CONDITION 
  • PCM monitors input voltage from HO2S (Rear) when the following monitoring conditions are met. If the input voltage from the front HO2S does not even exceed 0.55 V  though the short term fuel trim is controlled up to 25%  for 9.6 s  , PCM determines that sensor circuit is not activated.

MONITORING CONDITIONS 

  • Drive mode 3
  • Following conditions are met for 32 s: 
    • Engine speed is above 1,500 rpm. 
    • Engine coolant temperature is above 70 °C {158 °F}. 
    • Rear HO2S sensor voltage is above 0.1 V

Diagnostic support note 

  • This is an intermittent monitor (HO2S).
  • The MIL illuminates if the PCM detects the above malfunction condition in two consecutive drive cycles or in one drive cycle while the DTC for the same malfunction has been stored in the PCM.
  • PENDING CODE is available if the PCM detects the above malfunction condition during the first drive cycle.
  • FREEZE FRAME DATA is available.
  • DTC is stored in the PCM memory.
POSSIBLE CAUSE 
  • HO2S (Rear) deterioration
  • HO2S heater (Rear) malfunction
  • Leakage exhaust system
  • Open or short to ground circuit between HO2S (Rear) terminal A and PCM terminal
    • For P0140: HO2S (Rear, RH) terminal A and PCM terminal 44
    • For P0160: HO2S (Rear, LH) terminal A and PCM terminal 45
  • Insufficient compression
  • Engine malfunction
  • PCM malfunction
G04327922Courtesy of MAZDA MOTORS CORP.
G04327923Courtesy of MAZDA MOTORS CORP.